Valitse kieli:
English
Suomi
Tervetuloa, Vieras. Ole hyvä ja
kirjaudu
tai
Rekisteröidy
Koti
Ohjeita
Haku
Kirjaudu
Rekisteröidy
Liity SRHS:n jäseneksi
SRHS Forum
›
Suomen Radiohistoriallinen Seura ry - Keskustelufoorumi
›
Ulkomaiset radiot, televisiot ja äänentoistolaitteet
› Stern Radio Sonneberg Super 697/87 GWU Sekretär IIIR kaavio?
‹
Edellinen aihe
|
Seuraava aihe
›
Sivu: 1
Lähetä aihe
Tulosta
Stern Radio Sonneberg Super 697/87 GWU Sekretär IIIR kaavio? (Luettu 6606 kertaa)
Kipsu
Full Member
Poissa
Viestejä: 193
Stern Radio Sonneberg Super 697/87 GWU Sekretär IIIR kaavio?
05.02.2017 klo 09:33:25
Tulosta viesti
Moi
Minulta on kysytty voisinko vilkaista / saisiko kuntoon itä-saksalaisen putkiradio: Stern RFT Radio Sonneberg Super 697/87 GWU Sekretär IIIR. Noin siis lukee takapahvissa, valmistenumero 1398670.
Sattuisiko kenelläkään löytymään kytkentäkaaviota sellaiseen?
Mitenkäs on yleensäkin komponenttien ja putkien saatavuus tähän "itänaapurin" tuotteeseen? Putket on U- alkuisia eikä E- niinkuin suomi Philipseissaä ja länsisaksalaisissa. Mikä ero sillä on verrattuna E- putkiin?
MK
IP kirjattu
OH2EO
God Member
Poissa
SRHS
Viestejä: 1120
Re: Stern Radio Sonneberg Super 697/87 GWU Sekretär IIIR kaavio?
Vastaus #1 -
05.02.2017 klo 10:24:01
Tulosta viesti
U-sarjan putkissa on hehkuvirta 100mA ja hehkujännite vaihtelee putken mukaan. Näitä käytetään muuntajattomissa yleisvirtavastaanottimissa siten, että hehkut on kytketty sarjaan. E-sarjan putkissahan on 6.3V hehkujännite.
Radiosi on siis ilmeisesti tuollainen muuntajaton malli, jossa toinen verkkojohdin on suoraan rungossa! Turvallisuuden vuoksi olisi hyvä käyttää suojaerotusmuuntajaa tällaista radioa tutkiessa.
IP kirjattu
Kipsu
Full Member
Poissa
Viestejä: 193
Re: Stern Radio Sonneberg Super 697/87 GWU Sekretär IIIR kaavio?
Vastaus #2 -
05.02.2017 klo 19:05:02
Tulosta viesti
Ei ole varsinaisesti minun radio, on isäni kaverin.
Näin jostain luinkin että hehkujännite vaihtelee. Onko ne hehkujännitteet yleensä näissä u putkisissa merkitty kaavioihin vai pitäisikö ne tarkistaa jostain putken tietosivuilta?
Suojaerotusmuuntaja löytyy jo kotoonta.
IP kirjattu
LGL.
God Member
Poissa
Viestejä: 1352
Re: Stern Radio Sonneberg Super 697/87 GWU Sekretär IIIR kaavio?
Vastaus #3 -
05.02.2017 klo 19:53:42
Tulosta viesti
RMorgin mukaan Sekretär III 697/87 GWU:lla on sama koneisto kun Sekretär III 697/62 GWU ja sen kaavio voit ladata tästä:
http://www.gfgf.org/GFGF-Schaltplandienst/SternRadioSonneberg_Sekretaer369762GWU...
LGL
IP kirjattu
RJL
God Member
Poissa
SRHS 612
Viestejä: 2768
Re: Stern Radio Sonneberg Super 697/87 GWU Sekretär IIIR kaavio?
Vastaus #4 -
05.02.2017 klo 20:14:51
Tulosta viesti
Kipsu kirjoitti
05.02.2017 klo 19:05:02:
Näin jostain luinkin että hehkujännite vaihtelee. Onko ne hehkujännitteet yleensä näissä u putkisissa merkitty kaavioihin vai pitäisikö ne tarkistaa jostain putken tietosivuilta?
Näissä sarjaaan kytketyissä U-sarjan putkissa ei ole edes tarpeen tietää tai tarkistaa hehkujännitettä, riittää kun tarkistaa että putket hehkuvat. Ja jos yksi putki hehkuu, hehkuvat kaikki, tämä juuri siksi että hehkut on kytketty sarjaan. Putket on suunniteltu siten että kaikkien läpi menee 100mA virtaa, jännite voi vaihdella ja sitä myöten putken hehkuteho. Sama systeemi kuin vanhoissa 7-haaraisissa kyntteliköissä, jos yksi lamppu sammui, sammui koko kynttelikkö.
Samoja U-sarjan putkia käytetään myös länsimaisissa yleisvirtakoneissa, niitä kyllä saa vielä hyvin.
Reijo Liljedahl - SRHS 612 - OH3AVA - SDXL 8092
IP kirjattu
Kipsu
Full Member
Poissa
Viestejä: 193
Re: Stern Radio Sonneberg Super 697/87 GWU Sekretär IIIR kaavio?
Vastaus #5 -
08.02.2017 klo 19:48:18
Tulosta viesti
Hölmö kysymys mutta kun noista U sarjan putkista en mitään tiedä niin.. Onko hehkut putkikartoissa noita "t" tai "f" kirjaimella merkattuja? Äkkiseltään kun katsoin niin en löytänyt niiden linjoja kaaviosta, vai onko ne sinne piirretty?
IP kirjattu
balticsuper
God Member
Poissa
Viestejä: 888
Sijainti: Tampere
Re: Stern Radio Sonneberg Super 697/87 GWU Sekretär IIIR kaavio?
Vastaus #6 -
08.02.2017 klo 20:19:22
Tulosta viesti
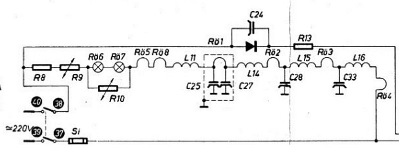
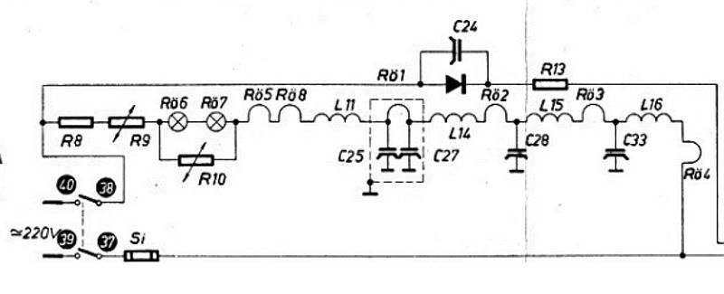
f-puukstaavilla merkitään hehkut, tulee kai sanasta filament.
t-kirjainta en muista hehkuissa nähneeni mutta se dement...
vaimikäsenytoli saattaa vaikuttaa.
ed:
Hehkupiiri on kaaviossa.
hehkut.jpg
( 27 KB | 0 latausta )
IP kirjattu
Raimo Sjöberg
God Member
Poissa
SRHS #313
Viestejä: 1561
Sijainti: Espoo
Re: Stern Radio Sonneberg Super 697/87 GWU Sekretär IIIR kaavio?
Vastaus #7 -
08.02.2017 klo 20:55:16
Tulosta viesti
Piti uteliaisuuttani käydä vilkaisemassa kaaviota. Kosketussuojakonkka C60 näyttää olevan yhteinen maa- ja levysoitinliitännälle. Mutta miksi ihmeessä yksi levysoitinliitännän (TA) navoista on galvaanisesti radion maissa? Toinen omituisuus on suojaerotetun maan kytkentä päätemuuntajaan, tuskin sentään rautasydämeen (?).
Rami OH1AYG - OH2AUS
WWW
IP kirjattu
Timo Haveri
God Member
Poissa
Viestejä: 2962
Sijainti: Parkano
Re: Stern Radio Sonneberg Super 697/87 GWU Sekretär IIIR kaavio?
Vastaus #8 -
08.02.2017 klo 23:23:58
Tulosta viesti
Minulla on sama Sekretär 3 ja siinä on levysoitinliitäntä takaseinässä tukittu ja vieressä on varoitus, jonka tulkitsen siten, että jos liitäntä otetaan käyttöön, niin radiota pitää käyttää erotusmuuntajan kautta. Saksaa paremmin osaavat voinevat korjata jos ymmärsin väärin. Liitteenä kuva.
Yleensä yleisvirtakoneissa ei ole levysoitinliitäntää juuri tästä syystä. Jostain syystä se on kuitenkin tähän malliin haluttu laittaa. Myöskään lisäkaiutinliitäntää ei yleensä ole, eikä ole tässä Sekretärissäkään.
Hehkujännite on usein merkitty f:llä ja saksankielisissä kaavioissa se voi olla h (hehku = heizung).
sekretar_ls-liitanta.jpg
( 43 KB | 0 latausta )
WWW
IP kirjattu
Timo Haveri
God Member
Poissa
Viestejä: 2962
Sijainti: Parkano
Re: Stern Radio Sonneberg Super 697/87 GWU Sekretär IIIR kaavio?
Vastaus #9 -
08.02.2017 klo 23:32:54
Tulosta viesti
Raimo Sjöberg kirjoitti
08.02.2017 klo 20:55:16:
Toinen omituisuus on suojaerotetun maan kytkentä päätemuuntajaan, tuskin sentään rautasydämeen (?).
Radiossa päätemuuntaja on kiinni puisessa etulevyssä erillään koneistosta ja kaiuttimesta, joten maadoittaminen ei vaikuta sähköturvallisuuteen.
Timo
sekretar_paatemuuntaja.jpg
( 47 KB | 0 latausta )
WWW
IP kirjattu
Raimo Sjöberg
God Member
Poissa
SRHS #313
Viestejä: 1561
Sijainti: Espoo
Re: Stern Radio Sonneberg Super 697/87 GWU Sekretär IIIR kaavio?
Vastaus #10 -
09.02.2017 klo 01:10:26
Tulosta viesti
Tuohan selvitti jo paljon. Tässä osiossa esitetyssä Luxor 72W:ssä on levysoitinliitännässä audiotasoinen erotusmuuntaja. Huomattavasti helpompi ratkaisu kuin verkkoerotusmuuntaja.
Kuinkahan moni käyttäjä on saksinut tuon ausschneiden-tekstin kehottamana liittimen esiin varoituksista mitään välittämättä? Ja soitellut sitten levyjä "kuumalla" grammarilla!
Rami OH1AYG - OH2AUS
WWW
IP kirjattu
Sivu: 1
Lähetä aihe
Tulosta
‹
Edellinen aihe
|
Seuraava aihe
›
Foorumihyppy »
Koti
» 10 viimeisintä viestiä
» 10 viimeisintä aihetta
Suomen Radiohistoriallinen Seura ry - Keskustelufoorumi
Suomen Radiohistoriallinen Seura ry
Jäsenalue
Yleistä radiohistoriasta
Kotimaiset radiot, televisiot ja äänentoistolaitteet
Ulkomaiset radiot, televisiot ja äänentoistolaitteet ««
Muut radio- ja elektroniikkalaitteet
Entisöinti ja kunnostus yleisellä tasolla
Omatekoiset laitteet ja rakentelu
Sotilasradiot ja Perinneradiot
Yleinen keskustelualue
Niitä Näitä
Haku päällä
« Koti
‹ Alue
SRHS Forum
» Powered by
YaBB 2.6.12
!
YaBB Forum Software
© 2000-2026. Kaikki oikeudet pidätetään.