Valitse kieli:
English
Suomi
Tervetuloa, Vieras. Ole hyvä ja
kirjaudu
tai
Rekisteröidy
Koti
Ohjeita
Haku
Kirjaudu
Rekisteröidy
Liity SRHS:n jäseneksi
SRHS Forum
›
Suomen Radiohistoriallinen Seura ry - Keskustelufoorumi
›
Ulkomaiset radiot, televisiot ja äänentoistolaitteet
› Ingelburn Pixytone
‹
Edellinen aihe
|
Seuraava aihe
›
Sivu:
1
2
3
[4]
Lähetä aihe
Tulosta
Ingelburn Pixytone (Luettu 37216 kertaa)
LGL.
God Member
Poissa
Viestejä: 1352
Re: Ingelburn Pixytone
Vastaus #45 -
17.01.2017 klo 22:31:57
Tulosta viesti
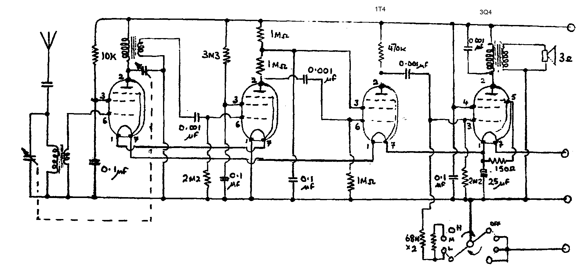
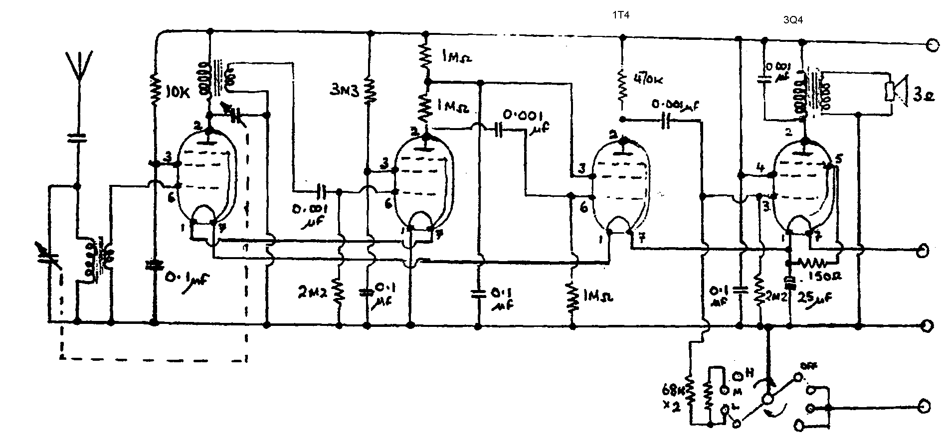
Tässä yksi esim 1T4 kytkennöstä: Radio on englantilainen "Sweeheart" jossa 3 kpl 1T4 putkea.
LGL
Sweetheart_TRF_sp.jpg
( 289 KB | 0 latausta )
IP kirjattu
akenyh
God Member
Poissa
SRHS 257
Viestejä: 1155
Sijainti: Halikko (Salo)
Re: Ingelburn Pixytone
Vastaus #46 -
17.01.2017 klo 23:00:08
Tulosta viesti
Tuolla aiemmin olevaa radion kytkentäkaaviota katsellessa selvisi, että sen ilmaisin 1T4:n toimintapiste on erikoinen. Suojahila- ja anodijännitteet ovat noin 7V ja anodivirtakin kovin pieni. Mahtaisikohan ilmaisimen idea olla siinä, eli pentodin alkuluiskalla??
Ihmettelee Åke
IP kirjattu
OH2EO
God Member
Poissa
SRHS
Viestejä: 1120
Re: Ingelburn Pixytone
Vastaus #47 -
17.01.2017 klo 23:12:46
Tulosta viesti
Tuossa LGL:n esittämässä 1T4 kytkennässä on hyvin normaalit "oppikirjan mukaiset" komponenttiarvot ilmaisinputkelle.
Timo
IP kirjattu
OH2NLT
God Member
Poissa
Viestejä: 1597
Sijainti: Espoo
Re: Ingelburn Pixytone scheema korjattu
Vastaus #48 -
17.01.2017 klo 23:54:38
Tulosta viesti
Täällä scheeman piirtäjä häpeää huolimatonta työtään. Hilakonkka oli niin huonossa kunnossa, että en uskaltanut sitä aikaisemmin väännellä tai irroittaa mittaukseen. Nyt tein sen ja 100pF konkkahan se oli
. Tosin mureni käsiin, mutta sain kuitenkin mitattua.
Omissa aikaisemmissa kommenteissa unohtui tuo hila-katodi diodi efekti. 100pF 2M muodostaa 720Hz ylipäästön.
Korjattu scheema vaihdettu aiempaan viesti #14 liitteeksi.
Kiitoksia hyvästä keskustelusta. Selviää vähitellen miten pitäisi toimia.
IMG_4303.JPG
( 205 KB | 0 latausta )
IMG_4305.JPG
( 151 KB | 0 latausta )
IP kirjattu
OH2NLT
God Member
Poissa
Viestejä: 1597
Sijainti: Espoo
Re: Ingelburn Pixytone ilmaisin
Vastaus #49 -
18.01.2017 klo 02:20:48
Tulosta viesti
Tarkistin myös vastusten arvot V2:n ympäriltä. Kaikki olivat toleranssien sisällä. Uusi 100pF konkka kiinni ja varmistusmittauksia. Mikään ei oleellisesti muutunut. V2 G1 hilan jännite ryömii hissukseen -8 ... -50mV välillä. Sillä ei ole havaittavaa vaikutusta onko RF signaali olemassa vai ei. V2:n G1 2.2M hilavastus on kytketty katodille hehkun +napaan eli noin +1,56V jännitteeseen. Näiltä osin saman kaltainen kuin LGL:n esittämä kytkentä. Pitää miettiä minkä ilmiön seurauksena hila kuitenkin ajautuu aavistuksen negatiiviselle puolelle. Putki on kuitenkin biasoitu aika hyvin johtavaan tilaan.
Vielä ilmaisimen toiminnasta. Kuva 4311 on 90% AM modulaatiosyvyydellä. Särömittari näyttää noin 20%. Kun pudottaa modulaatiosyvyyden 50% tasoon (kuva4308) niin THD putoaa 4% tasoon.
IMG_4311.JPG
( 197 KB | 0 latausta )
IMG_4308.JPG
( 186 KB | 0 latausta )
IP kirjattu
RJL
God Member
Poissa
SRHS 612
Viestejä: 2768
Re: Ingelburn Pixytone
Vastaus #50 -
18.01.2017 klo 07:28:03
Tulosta viesti
Löysinpäs tuon ilmaisimen komponenttien mitoitusperiaatteen. Ei ollut ihan niin kuin muistelin, mutta sinne päin. Enemmittä selittelyittä, Hautamäki-Forsström: Radiomiehen käsikirja:
Ei onnistunut asemointi oikein hyvin, mutta kyllä tästä selvän saa.
Noista vastuksista pitikin kommentoida, mutta vastaus jo tulikin. Massavastuksilla on tapana ryömiä ajan mukana ylöspäin, pahimmillaan jopa dekadinkin verran. Vähän isoilta ne anodi- ja suojahilavastukset vaikuttavat, tai sitten kytkennässä on joku salainen idea. Mutta jos värikoodi on hyvin luettavissa ilman ajan patinaa on kyseessä se meiltä vielä keksimätön idea.
Hilailmaisin.pdf
( 291 KB | 0 latausta )
Reijo Liljedahl - SRHS 612 - OH3AVA - SDXL 8092
IP kirjattu
OH2NLT
God Member
Poissa
Viestejä: 1597
Sijainti: Espoo
Re: Ingelburn Pixytone
Vastaus #51 -
18.01.2017 klo 19:42:55
Tulosta viesti
Kiitoksia Reijolle hyvästä prujusta. Tuossa on selkeästi esitetty hilalle tulevan RC aikavakion mitoitus ja putken toimintapisteen valinta ja vaikutus.
IP kirjattu
OH2NLT
God Member
Poissa
Viestejä: 1597
Sijainti: Espoo
Re: Ingelburn Pixytone 3D konkat
Vastaus #52 -
25.01.2017 klo 23:51:50
Tulosta viesti
3D osasto (OH2GWE) teki jälleen palveluksen ja mallinsi Hunts konkan kuoret kahdella eri tavalla. Koetulostukseen oli vain punaista ABS muovia. Ruskeaa on tietenkin jo tilauksessa.
1206 kokoinen pintaliitoskonkka toosaan sisään ja kuoret kiinni.
OH2GWE_konkan_kuoret.png
( 13 KB | 0 latausta )
IMG_4314.JPG
( 118 KB | 0 latausta )
IP kirjattu
OH2NLT
God Member
Poissa
Viestejä: 1597
Sijainti: Espoo
Re: Ingelburn Pixytone 3D konkat
Vastaus #53 -
26.01.2017 klo 00:00:45
Tulosta viesti
ABS muovin liimaaminen on helppoa kun liukenee asetooniin. Lankatulostimella pinta jää karkeaksi. Asetooni höyrytyksellä / sivelemällä pintaan asetoonia voi "sulattaa" sitä tasaisemmaksi ja kiiltävämmäksi. Toisessa kuvassa originaali ja omavalmisteet. Näyttää siltä, että kunhan ruskeat muovit tulevat niin murentuneiden Hunts konkkien tilalle saadaan alkuperäisen näköiset replikat. Hyvää menetelmää alkuperäisen tekstin saamiseksi konkan pintaan en ole vielä keksinyt. Jos on hyviä ehdotuksia niin antaa tulla. Koko asettaa vielä omat haasteensa. Pötkö on 11mm pitkä ja halkaisia 5mm.
IMG_4315.JPG
( 186 KB | 0 latausta )
IMG_4316.JPG
( 106 KB | 0 latausta )
IP kirjattu
OH2NLT
God Member
Poissa
Viestejä: 1597
Sijainti: Espoo
Re: Ingleburn Pixytone saatu lisää tietoa
Vastaus #54 -
12.02.2017 klo 17:37:02
Tulosta viesti
Jotenkin outo porukka tuo BVWS. Julkaisevat hienoja lehtiä ja nettisivulla niille on hinnat ja kaikki. Lukuisista yrityksistä huolimatta en saanut mitään yhteyttä porukan henkilöihin. Roskaposti suodattimien pelossa yhteysyritys tehtiin myös toisen henkilön sähköpostilla tuloksetta. Homma retkesi sillä, että tilasin ebaystä pari käytettyä lehteä kovaan hintaan. Lehdissä on mielenkiintoinen juttu Inleburn yrityksestä ja tästä radiosta.
Netin syövereistä löytyi myös scheema mikä poikkeaa omasta radiosta piirretystä (liite viestissä #14). Tässä äänenvoimakkuuden säätö on pääteputken edessä. Aikaisemmin keskusteltu hilailmaisimen konkka on tässä 1nF eli suurelta näyttää. Pääteputki on 3G4. Lehden tekstistä selvisi, että pääteputki vaihtoehtoja on ollut 3V4, 3Q4 ja 3S4. Muut putket 1T4. Pulavuosina radioita on myyty myös ilman putkia.
Radiosta on olemassa myös dual band versio. Aaltoalueen vaihtoa lukuunottamatta tämä kytkentä näyttää täsmälleen samalta minkä piirsin auki omasta yksilöstä.
single_band_versio.png
( 26 KB | 0 latausta )
dual_band_versio_small_2.png
( 452 KB | 0 latausta )
IP kirjattu
OH2NLT
God Member
Poissa
Viestejä: 1597
Sijainti: Espoo
Re: Ingleburn Pixytone HUNTS muovikonkat
Vastaus #55 -
07.03.2017 klo 00:01:52
Tulosta viesti
Ruskeat ABS kuoret olleet hyllyssä jo jonkun aikaa. Tänään tein puuttuvat 100p ja 1n replika konkat. Jäivät enemmän alkuperäisen HUNTSin näköisiksi ilman asetooni käsittelyä. Viimeistelyä varten olen vielä miettinyt etsattua tai laserilla poltettua sabluunaa millä noihin saisi maalattua tekstit. Ensimmäisessä kuvassa omavalmisteiden verrokkina yksi originaali konkka.
IMG_4424.JPG
( 170 KB | 0 latausta )
IMG_4426.JPG
( 223 KB | 0 latausta )
IP kirjattu
OH2NLT
God Member
Poissa
Viestejä: 1597
Sijainti: Espoo
Re: Ingelburn Pixytone soi
Vastaus #56 -
05.05.2017 klo 23:13:10
Tulosta viesti
Sain lopulta Pixytonen kuoret kiinni. Asteikkomuovi on vielä laittamatta kun en ole keksinyt hyvää menetelmää reolikan tekemiseksi. Radio pääsi paraati paikalle ihan kuuntelua varten. Ohjelmalähteeksi tein laatikon missä on china tuneri FM vastaanottoa varten ja AM modulaattori Pixytonen tai muun AM radion ohjelmanlähteeksi. Dokumentoin purkin tarkemmin rakentelu osioon.
Tässä linkki
http://www.radiohistoria.fi/cgi-bin/yabb2/YaBB.pl?num=1494016047
«
Viimeksi muokattu: 06.05.2017 klo 00:06:27 Kirjoittaja OH2NLT
»
IMG_4654.JPG
( 210 KB | 0 latausta )
IMG_4649.JPG
( 200 KB | 0 latausta )
IP kirjattu
Sivu:
1
2
3
[4]
Lähetä aihe
Tulosta
‹
Edellinen aihe
|
Seuraava aihe
›
Foorumihyppy »
Koti
» 10 viimeisintä viestiä
» 10 viimeisintä aihetta
Suomen Radiohistoriallinen Seura ry - Keskustelufoorumi
Suomen Radiohistoriallinen Seura ry
Jäsenalue
Yleistä radiohistoriasta
Kotimaiset radiot, televisiot ja äänentoistolaitteet
Ulkomaiset radiot, televisiot ja äänentoistolaitteet ««
Muut radio- ja elektroniikkalaitteet
Entisöinti ja kunnostus yleisellä tasolla
Omatekoiset laitteet ja rakentelu
Sotilasradiot ja Perinneradiot
Yleinen keskustelualue
Niitä Näitä
Haku päällä
« Koti
‹ Alue
SRHS Forum
» Powered by
YaBB 2.6.12
!
YaBB Forum Software
© 2000-2026. Kaikki oikeudet pidätetään.