Sivunvalintanappi Sivu: 1 [2] 3 4  Lähetä aiheTulosta
Erittäin kuuma aihe (Enemmän kuin 25 vastausta) OAW Mini 1 (Luettu 26311 kertaa)
OH3NWD
God Member
*****
Poissa



Viestejä: 632
Re: OAW Mini 1
Vastaus #15 - 06.11.2019 klo 21:20:40
Tulosta viesti  
Signaaligeneraattorista ajoin luureihin kiloherzin siniä, 10 tai 20 kilon vastus oli sarjassa. Mittasin jännitteen kuulokkeiden yli ja vastuksen yli, ja siitä päädyin laskemalla suurinpiirtein 10 kilon impedanssiin, taajuutta kun nosti, oltiin aika äkkiä 20 kohmissa. Eli aikalailla samalla tavalla kuin Reijon mittaus. Saattoi olla, että kokeilin useampaa vastusta, että jännitehäviö oli sitten samaa luokkaa vastuksessa ja kuulokkeessa.

Edit, pitäisikin joskus piirtää Omegan impedanssikäyrä paperille, olisi aika mielenkiintoisen näköinen Hymiö Metallikalvon jyrkkä resonanssi ainakin näkyi jossakin kohtaa, kun taajuutta muutti.

Tai sitten laittaa potikan sarjaan mitattavan kohteen kanssa ja säätää jännitteen samaksi molemmissa ja sitten mittaa potikan arvon.
  
Sivun alkuun
 
IP kirjattu
 
OH3NWD
God Member
*****
Poissa



Viestejä: 632
Re: OAW Mini 1
Vastaus #16 - 09.11.2019 klo 12:10:14
Tulosta viesti  
Oliko 30 voltin pienoisanodiparisto tämmöinen pyöreä pötkylä? Tällaisenhan voisi varmaankin kolikkopattereista tehdä.
  

anodiparisto.png ( 41 KB | 270 latausta )
anodiparisto.png
Sivun alkuun
 
IP kirjattu
 
OH8UBJ
God Member
*****
Poissa



Viestejä: 826
Re: OAW Mini 1
Vastaus #17 - 10.11.2019 klo 14:40:16
Tulosta viesti  
OH3NWD kirjoitti 06.11.2019 klo 21:20:40:
Tai sitten laittaa potikan sarjaan mitattavan kohteen kanssa ja säätää jännitteen samaksi molemmissa ja sitten mittaa potikan arvon.

Tuolla potikkamenetelmällä mittailin joskus kaiuttimien impedansseja ja arvioin kovaäänismuuntajien alarajataajuuksia.
  
Sivun alkuun
 
IP kirjattu
 
RJL
God Member
*****
Poissa


SRHS 612

Viestejä: 2768
Re: OAW Mini 1
Vastaus #18 - 11.11.2019 klo 12:46:51
Tulosta viesti  
OH3NWD kirjoitti 09.11.2019 klo 12:10:14:
Oliko 30 voltin pienoisanodiparisto tämmöinen pyöreä pötkylä? Tällaisenhan voisi varmaankin kolikkopattereista tehdä.


Tuommoinen se alkuperäinen 22,5 V:n anodiparisto kirjan kuvien mukaan on, vähän isompi kuin AA-paristo. Omasta radiosta tuli pöytäradio ulkoisella virtalähteellä. Takaisinkytkentä alkaa lupaavasti suhisemaan takaisinkytkentää lisätessä, kun säätökonkka on yli puolivälin auki, täytyy ensin suurentaa takaisinkytkentäkonkkaa, ja jos ei se riitä, sitten käämitään lisää kierroksia takaisinkytkentäkelaan. Nyt siinä on 40 kierrosta, kun ajattelin sen riittävän, ohjeet ehdottaa 60 kierrosta, mikä on aika paljon, kun virityspiirin kelassakin on saman verran. Antennia en ole vielä tarjonnut.
  

Reijo Liljedahl - SRHS 612 - OH3AVA - SDXL 8092
Sivun alkuun
 
IP kirjattu
 
artosalo
God Member
*****
Poissa



Viestejä: 2663
Sijainti: Perniö                
Re: OAW Mini 1
Vastaus #19 - 11.11.2019 klo 16:43:22
Tulosta viesti  
Eikös se nyt ole jo hyvä, jos n. puolivälissä säätöaluetta saa ilmaisimen värähtelemään ?
  
Sivun alkuun
 
IP kirjattu
 
OH8UBJ
God Member
*****
Poissa



Viestejä: 826
Re: OAW Mini 1
Vastaus #20 - 12.11.2019 klo 21:59:03
Tulosta viesti  
Lueskelin pojalle seikkailukertomusta Kolumbus- poikien vuosikirjasta 1958.

Kirjassa on myös aika minimalistisen 2- putkisen paristovastaanottimen rakennusohje.


Kytkentäkaavio sopinee tähän ketjuun?
  

Resized_20191112_214043.jpeg ( 204 KB | 274 latausta )
Resized_20191112_214043.jpeg
Sivun alkuun
 
IP kirjattu
 
OH3NWD
God Member
*****
Poissa



Viestejä: 632
Re: OAW Mini 1
Vastaus #21 - 13.11.2019 klo 16:05:01
Tulosta viesti  
Tämä onkin vähän erilainen kytkentä. Lienee O.Wiion käsialaa kuitenkin? Amerikkalaisissa lehdissä näkee usein tällälailla tehdyn takaisinkytkennän, että kela on suoraan sarjassa anodijohdon kanssa. Sitä olenkin miettinyt, että onkohan sen toiminnassa käytännössä eroa siihen Wiion yleensä käyttämään tapaan ottaa kytkentä kondensaattorilla anodilta? Helpompi optimointi konkkaa vaihtamalla?

edit:
Vai olikohan nuo Kolumbukset käännöksiä jostakin ehkä amerikkalaisesta lähdeteoksesta?
  
Sivun alkuun
 
IP kirjattu
 
RJL
God Member
*****
Poissa


SRHS 612

Viestejä: 2768
Re: OAW Mini 1
Vastaus #22 - 13.11.2019 klo 16:34:43
Tulosta viesti  
artosalo kirjoitti 11.11.2019 klo 16:43:22:
Eikös se nyt ole jo hyvä, jos n. puolivälissä säätöaluetta saa ilmaisimen värähtelemään ?


Kirjoitin huonosti, ilmaisin värähtelee ainoastaan kun säätökondensaattori on yli puolivälin auki, matalammilla taajuuksilla värähtelyä ei synny.
  

Reijo Liljedahl - SRHS 612 - OH3AVA - SDXL 8092
Sivun alkuun
 
IP kirjattu
 
OH8UBJ
God Member
*****
Poissa



Viestejä: 826
Re: OAW Mini 1
Vastaus #23 - 13.11.2019 klo 16:35:30
Tulosta viesti  
Ei ole Wiioa.
Sveitsiläisistä kirjoista käännöksiä.

Tuossa on muutama juttu, joka teki kytkennästä varmaankin hankalan "Kolumbuksen" kohderyhmälle.
2 viritettyä piiriä ja asteiden välinen muuntajakytkentä, joka tekee ilmaisinkelasta mutkikkaamman.
C1 ja C2 on kaksikkokondensaattori, molempien piirien pitää sattua aika tarkoin vireeseen samalle reiälle.
Ohjeessa sanotaankin, että antennin maksimipituus on 20m, mikä on aika vähän keskiaalloilla.
Pidempi antenni varmaan vetää antennipiirin virityksen poskelleen.

Tykkäsin lapsena "Kolumbus"- kirjoista, mutta en montaa onnistunit käsiini saamaan.

Nyt, nettikirppisten aikaan olikin helppo fiilistellä ja kerätä  täydellinen kokoelma.
« Viimeksi muokattu: 13.11.2019 klo 17:04:25 Kirjoittaja OH8UBJ »  
Sivun alkuun
 
IP kirjattu
 
OH2EO
God Member
*****
Poissa


SRHS

Viestejä: 1120
Re: OAW Mini 1
Vastaus #24 - 13.11.2019 klo 16:59:44
Tulosta viesti  
OH3NWD kirjoitti 13.11.2019 klo 16:05:01:
Tämä onkin vähän erilainen kytkentä. Lienee O.Wiion käsialaa kuitenkin? Amerikkalaisissa lehdissä näkee usein tällälailla tehdyn takaisinkytkennän, että kela on suoraan sarjassa anodijohdon kanssa. Sitä olenkin miettinyt, että onkohan sen toiminnassa käytännössä eroa siihen Wiion yleensä käyttämään tapaan ottaa kytkentä kondensaattorilla anodilta? Helpompi optimointi konkkaa vaihtamalla?

edit:
Vai olikohan nuo Kolumbukset käännöksiä jostakin ehkä amerikkalaisesta lähdeteoksesta?

Wiio käyttää yleensä triodia, jolloin takaisinkytkennän säätö täytyy tehdä toisin kuin tässä suojahilajännitettä säätämällä. Siinä kuuluisassa no. 63:ssakin on DLL21 kytketty triodiksi.
  
Sivun alkuun
 
IP kirjattu
 
RJL
God Member
*****
Poissa


SRHS 612

Viestejä: 2768
Re: OAW Mini 1
Vastaus #25 - 13.11.2019 klo 18:46:46
Tulosta viesti  
Tämmöinen se on nyt, kytkentä mahdollisimman alkuperäisenä. Olin tulkinnut kohinaa väärin, kun kytkin radioon signaaligeneraattorin, en saanut mitään kuuluviin, kun laite kohisi. Sen sijaan kun takaisinkytkentää vähennettiin, alkoi jotain kuuluakin. Herkällä kädellä sieltä sai semmoisen 100 uV signaalin kuulumaan, mutta takaisinkytkennän säätö on kovin äkkinäinen. Mutta radio siis toimii, kuuluu jo 20 V:n anodijännitteellä, mutta äänenvoimakkuus lisääntyy merkittävästi kun jännitettä nostetaan 30 Volttiin.

Sitten parannuskohteisiin. Takaisinkytkentäkelan kierroksia täytyy vähentää, nyt säätö on kovin äkkinäinen. Antennikytkentänä voisi kokeilla parin kierroksen linkkikelaa, minulla kun on vakioantennina koaksiaalisyöttöinen aktiivilooppi. Sitten se anodivastuksen vaihto kuristimeen. Päätemuuntaja on ehkä turha 4000 Ohmin kuulokkeille. Nyt siinä on kiinalainen transistoreille tarkoitettu vaiheenkääntömuuntaja, jonka impedanssit muka ovat 30k/1kohmia, tiedä sitten noista. Ensiön induktanssi on kyllä reilut 3 Henryä, joten ehkä nuo arvot ovat sinne päin.
  

DSC05231A.JPG ( 208 KB | 286 latausta )
DSC05231A.JPG

Reijo Liljedahl - SRHS 612 - OH3AVA - SDXL 8092
Sivun alkuun
 
IP kirjattu
 
artosalo
God Member
*****
Poissa



Viestejä: 2663
Sijainti: Perniö                
Re: OAW Mini 1
Vastaus #26 - 13.11.2019 klo 19:23:50
Tulosta viesti  
Lainaus:
Amerikkalaisissa lehdissä näkee usein tällälailla tehdyn takaisinkytkennän, että kela on suoraan sarjassa anodijohdon kanssa. Sitä olenkin miettinyt, että onkohan sen toiminnassa käytännössä eroa siihen Wiion yleensä käyttämään tapaan ottaa kytkentä kondensaattorilla anodilta? Helpompi optimointi konkkaa vaihtamalla?


Kyllä nuo kummatkin tavat ovat sähköisesti identtisiä.
Toisessa on ensin (anodilta kts.) kondensaattori kelalle, jonka alapää on maissa ("Wiio").
Toisessa kela "E-F" ja kondensaattori C6 maihin. Siis sama kytkentä, mutta komponenttien järjestys vastakkainen.

Lainaus:
Tuossa on muutama juttu, joka teki kytkennästä varmaankin hankalan "Kolumbuksen" kohderyhmälle.


Olen samaa mieltä. Ilmaisimen jälkeinen audioaste olisi ollut aloittelijalle yksinkertaisempi, kuin tässä sovellettu st-vahvistusaste.
Tosin tämä Kolumbuksen konstruktio on monellakin tapaa parempi.

Lainaus:
Antennikytkentänä voisi kokeilla parin kierroksen linkkikelaa, minulla kun on vakioantennina koaksiaalisyöttöinen aktiivilooppi.


Hyvä ajatus. Aktiiviloopin (=sen vahvistimen) lähtöimpedanssi on varmaankin hyvin pieni, joten sen kytkeminen niin, ettei se kuormita värähtelypiiriä on tärkeää.

  
Sivun alkuun
 
IP kirjattu
 
artosalo
God Member
*****
Poissa



Viestejä: 2663
Sijainti: Perniö                
Re: OAW Mini 1
Vastaus #27 - 13.11.2019 klo 19:38:12
Tulosta viesti  
Lainaus:
Siinä kuuluisassa no. 63:ssakin on DLL21 kytketty triodiksi.


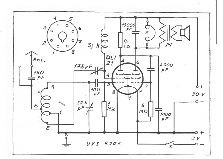
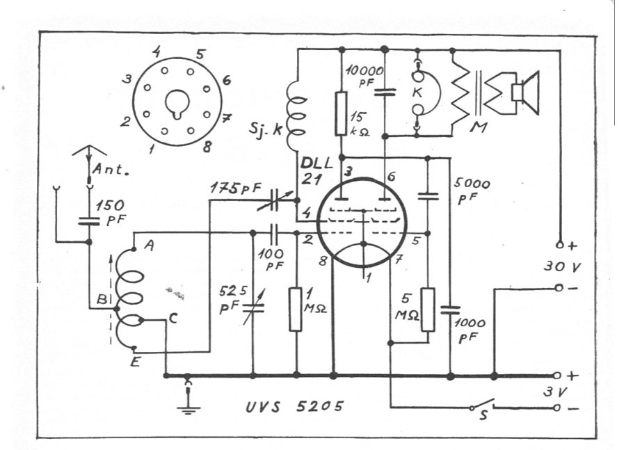
Parannetussa versiossa (no: 63-B) DLL21 oli jo pentodikytketty ja suorituskyky kasvanut huomattavasti.

Liitteenä kytkentäkaavio Tekniikan maailman (2/1953) artikkelista.

Minulla on koko kolmen sivun juttu .pdf-muodossa, mutta se on liian suuri laitettavaksi tänne foorumille. Lähetän kiinnostuneille.
  

no_63B_Somerikko.jpg ( 68 KB | 274 latausta )
no_63B_Somerikko.jpg
Sivun alkuun
 
IP kirjattu
 
Vekku
Full Member
***
Poissa


SRHS

Viestejä: 221
Sijainti: Luumäki
Re: OAW Mini 1
Vastaus #28 - 16.11.2019 klo 22:43:18
Tulosta viesti  
Jo vain kiinnostaa!
ukkev61(ät)gmail.com

Vekku
  
Sivun alkuun
 
IP kirjattu
 
RJL
God Member
*****
Poissa


SRHS 612

Viestejä: 2768
Re: OAW Mini 1
Vastaus #29 - 18.11.2019 klo 11:23:55
Tulosta viesti  
Nyt on parin päivän kuuntelukokemukset takana. Tulokset ovat hyviä, asemia kuuluu asteikon täydeltä pimeän aikaan, ja nytkin aamupäivällä klo 11 kuuluu vielä muutama asema, ei kovaa, mutta kumminkin. Illalla tulee vaikka BBC Radio Scotland 810 kHz niin kovaa, että jos radiossa olisi äänenvoimakkuuden säätö, kiertäisin sitä pienemmälle. Äänenlaatu on erinomainen, ei mitään suhinoita tai kihinöitä, asemat kuuluvat kuin tyhjästä. Valintatarkkuus on hyvä, asemat erottuvat toisistaan, ja vain voimakkaimmat leviävät viereisille taajuuksille. Ferriittisauva on joku venäläinen, mutta tuntuu sopivan näille taajuuksille. Kelan käämin kondensaattoripaperista ja lennokkiliimasta laminoidulle kelarungolle saadakseni korkean Q-arvon, en uskaltanut käyttää nykyisiä papereja, koska niissä on niin paljon savea mukana, se aiheuttaisi turhia häviöitä.

Alkuperäiseen kytkentään tein muutamia muutoksia. Kuulokemuuntaja oli turha, äänenvoimakkuus kasvoi, kun 4 kohmin kuulokkeet kytki suoraan anodille. Takaisinkytkentäkelasta otin pois kymmenen kierrosta, nyt takaisinkytkentä toimii pehmeästi koko säätöalueella. Anodijännite tosin piti nostaa 36 Volttiin, muuten takaisinkytkentää ei saanut toimimaan, kun säätökondensaattori oli kiinni. Antennia varten tein kolmen kierroksen linkkikelan, tämä toi eniten lisää äänenvoimakkuutta ja herkkyyttä. Anodin kuormistusvastuksen vaihto 4,7 mH:n kuristimeen ei vaikuttanut oikein mitenkään, ehkä isompi kuristin olisi auttanut, mutta sellaista ei ollut käsillä.

Kaiken kaikkiaan Mini 1 oli erittäin positiivinen yllätys, en ole aikaisemmin tehnyt yksiputkista radiota. Hyvällä antennilla sillä kuulee nautittavasti kymmeniä asemia erittäin miellyttävällä äänenlaadulla. Ehkä käytetty 5678-pentodi on tässä hiukan parempi kuin alkuperäinen DL67, mutta ei niissä isoja eroja datojen mukaan pitäisi olla. Antennina käytetty aktiivilooppi auttaa myös, se on erittäin hyvä antenni.

Edit: Juuri nyt klo 13 SA kuuluu NDB-majakka 900 kHz NE Nerl Moskovan koillispuolelta.
« Viimeksi muokattu: 18.11.2019 klo 12:54:39 Kirjoittaja RJL »  

Reijo Liljedahl - SRHS 612 - OH3AVA - SDXL 8092
Sivun alkuun
 
IP kirjattu
 
Sivunvalintanappi Sivu: 1 [2] 3 4 
Lähetä aiheTulosta