Kuuma aihe (Enemmän kuin 10 vastausta) Kysymys Philips B5SF62A volume-säätimen toiminnasta (Luettu 6902 kertaa)
PekkaM
Full Member
***
Poissa


SRHS

Viestejä: 138
Kysymys Philips B5SF62A volume-säätimen toiminnasta
19.03.2015 klo 22:05:09
Tulosta viesti  
Muistan, että foorumilla on ollut juttua Philipsin voimakkuussäätimen toiminnasta, mutta en nyt heti löydä. Eli siis kysymys: Onko joku joskus selvittänyt, mikä on perimmäinen syy näille koneistoille http://www.radiomuseum.org/r/philips_b5sf62ab_5_sf_62.html tyypilliseen toimintaan, jossa pienillä voimakkuuksilla bassot puuttuvat ja voimakkuutta säädettäessä vaikuttaa siltä, että vastakytkentä korjaa sävyä paremmaksi pienellä viiveellä? Tämä saman ilmiön olen ollut havaitsevinani kaikissa samaa koneistoa käyttävissä malleissa. Mutta mistä se oikeasti johtuu ja miten se korjataan? En ole toistaiseksi tutkinut asiaa tarkemmin. Olisiko joku jo selvittänyt?
-Pekka-
  
Sivun alkuun
 
IP kirjattu
 
IlpoJaakko
God Member
*****
Poissa


SRHS

Viestejä: 868
Re: Kysymys Philips B5SF62A volume-säätimen toiminnasta
Vastaus #1 - 19.03.2015 klo 22:38:39
Tulosta viesti  
Korvan ominaisuudet vaikuttavat:
http://en.wikipedia.org/wiki/Loudness
Täten pienellä voimakkuudella varsinkin musiikkia kuunneltaessa korvan herkkyys matalimmille ja korkeimmille äänille on pienimmillään. Tätä kompensoidaan nostamalla niiden tasoa pienillä voimakkuuksilla. Tämä tietenkin voidaan toteuttaa käyttämällä erillisiä matalien ja korkeiden äänien säätöpotikoita.
  
Sivun alkuun
 
IP kirjattu
 
akenyh
God Member
*****
Poissa


SRHS 257

Viestejä: 1155
Sijainti: Halikko (Salo)
Re: Kysymys Philips B5SF62A volume-säätimen toiminnasta
Vastaus #2 - 19.03.2015 klo 23:28:57
Tulosta viesti  
Yleisesti havainnollinen selitys löytyy tästäkin linkistä:
http://www.aanipaa.tamk.fi/voima_1.htm#mozTocId900700

Asiaa pyritään korjaamaan voimakuuspotentiometriin (log-säätö) laitetulla "fysiologia" korjaimella eli ulosotto (n 25% vastusarvosta), josta on vastus+ kondensaattori potentiometrin alapäähän, yleensä maahan. Tämä vaimentaa keski- ja korkeita taajuuksia, kun potentiometrin liuku on potentiometrin alapuoliskolla.

B5SF62A.sta ei minulla ole kokemusta ja tuskin huonokuuloisena viivästystä edes kuulisin.

Terv.
Åke
**
  
Sivun alkuun
 
IP kirjattu
 
PekkaM
Full Member
***
Poissa


SRHS

Viestejä: 138
Re: Kysymys Philips B5SF62A volume-säätimen toiminnasta
Vastaus #3 - 21.03.2015 klo 00:02:09
Tulosta viesti  
Kiitos vastauksista! Näinhän se menee.
Kerron tilanteesta tarkemmin: Kunnostusvuoroon on tulossa lähiaikoina Philips, jossa on kyseinen ominaisuus/vika. Jotain on siis vialla. Välttääkseni tuon Philipsin pikikonkkaviidakon vastustamattoman kutsun, minua kiinnostaa, josko joku on tutkinut ja analysoinut kyseisen vian/ominaisuuden syyn ja voisi kertoa korjaustoimenpiteistä. Tämä koneisto on kuitenkin aika yleinen. 

-Pekka-
  
Sivun alkuun
 
IP kirjattu
 
akenyh
God Member
*****
Poissa


SRHS 257

Viestejä: 1155
Sijainti: Halikko (Salo)
Re: Kysymys Philips B5SF62A volume-säätimen toiminnasta
Vastaus #4 - 21.03.2015 klo 17:28:08
Tulosta viesti  
Käytettävissä ei ole em. Philips B5SF62A:n kaaviota mutta Fenno Seppo-56V (F265V) on varmaan sama. Sen kaavio löytyy mm. Radio nr1/1957 lehdestä.

Radiossa on sen verran konstikas sekä runsaasti komponentteja sisältä sävynsäätö- ja vastakytkentäratkaisu, että komponenttien kunto (vuotovastus/ kapasitanssi ja vastusten arvot) kannattaisi tarkistaa.
Olen muutaman kerran havainnut Philipsin potentiometreissä hiiliradan niittauksen katkovan, mikä myös vaikuttaa toimintaan.

terv.
Åke
**
  
Sivun alkuun
 
IP kirjattu
 
Ville-Matti
God Member
*****
Poissa


SRSH<br />

Viestejä: 898
Re: Kysymys Philips B5SF62A volume-säätimen toiminnasta
Vastaus #5 - 22.03.2015 klo 13:31:07
Tulosta viesti  
Terve,

Philipsiltä on B5SF62A:n lisäksi B4SF72A, B6SF62A ja B6SF72A. Näissä jokaisessa on PekkaM:n kuvailemaa ilmiötä hiljaisella äänenvoimakkuudella kuultavissa.

Näissä apparaateissa näyttää EABC80 vaikuttavan äänenlaatuun huomattavasti. Muutamilla putkilla soundi on ylikirkas, toisilla hyvä ja kohdillaan, joillakin taas samean verhoutunut ja pahvinen. Toisilla radioilla (mm. Salora Riviera ja Metropol) kyseiset putket eivät eroa äänessä mitenkään keskenään, vaan soivat ihan hyvin.

Philipseissä olen äänenlaatua saanut kohdilleen parhaiten kokeilemalla toimintaa useammilla EABC80 -putkilla. Tähän olisi kyllä mielenkiintoista saada lisävalaistusta, mikäli joku asiaa on tutkinut tarkemmin.
  
Sivun alkuun
WWW  
IP kirjattu
 
akenyh
God Member
*****
Poissa


SRHS 257

Viestejä: 1155
Sijainti: Halikko (Salo)
Re: Kysymys Philips B5SF62A volume-säätimen toiminnasta
Vastaus #6 - 22.03.2015 klo 14:11:23
Tulosta viesti  
Mielenkiintoinen ilmiö tuo EABC80-putken merkittävä vaikutus äänenlaatuun ko. Philipseissä. Mitenkä vertailu on tehty?

Näin veikkaillen arvioiden eri putkien kesken saattaisi olla eroa triodin vahvistuksessa ja mahdollisesti vaikututusta suhdeilmaisimen tosion viritykseen.
Ovatko putket "kunnollisia" ja äänenvoimakuussäädin aina samassa asennossa?

Terv.
Åke
**
  
Sivun alkuun
 
IP kirjattu
 
Ville-Matti
God Member
*****
Poissa


SRSH<br />

Viestejä: 898
Re: Kysymys Philips B5SF62A volume-säätimen toiminnasta
Vastaus #7 - 22.03.2015 klo 15:11:56
Tulosta viesti  
Varsinaista vertailutarkoituksessa tehtyä vertailua en ole sen kummemmin ajatellut tai  tehnyt - tavoitteena oli lähinnä löytää parhaiten soiva putki Philipsin radioihin.

Huomasin EABC80:n vaikuttavan äänenlaatuun useita vuosia sitten, kun hankin ensimmäiseksi Philips B5SF62A:n. Hankittuani muut Philipsin mallit (järjestyksessä B4SF72A, B6SF62A ja B6SF72A) kokeilin myös näihin EABC:n vaihtoa, mikäli äänessä oli korjattavaa. Eli kuuntelun perusteella olen putkia vaihtanut ja äänenvoimakkuuttakin muutellut löytääkseni parhaiten soivan putken. Saattaisikohan Philipsien monimutkaiset takaksinkytkentä- ja äänensävysäätöpiirit (kuten aikaisemmin todettiin) vaikuttaa siihen, että putkien välillä kuuluu selviä sointieroja?
  
Sivun alkuun
WWW  
IP kirjattu
 
artosalo
God Member
*****
Poissa



Viestejä: 2663
Sijainti: Perniö                
Re: Kysymys Philips B5SF62A volume-säätimen toiminnasta
Vastaus #8 - 22.03.2015 klo 20:28:20
Tulosta viesti  
Ville-Matti kirjoitti 22.03.2015 klo 15:11:56:
...Saattaisikohan Philipsien monimutkaiset takaksinkytkentä- ja äänensävysäätöpiirit (kuten aikaisemmin todettiin) vaikuttaa siihen, että putkien välillä kuuluu selviä sointieroja?


Ei ainakaan takaisinkytkentä korosta putkien mahdollisia eroja, vaan nimenomaan päinvastoin. Takaisinkytkennän vaikutus on putkien eroja pienentävä.

Sävynsäädöistä en sano mitään.
  
Sivun alkuun
 
IP kirjattu
 
akenyh
God Member
*****
Poissa


SRHS 257

Viestejä: 1155
Sijainti: Halikko (Salo)
Re: Kysymys Philips B5SF62A volume-säätimen toiminnasta
Vastaus #9 - 22.03.2015 klo 20:49:43
Tulosta viesti  
Ville-Matti kirjoitti 22.03.2015 klo 15:11:56:
Saattaisikohan Philipsien monimutkaiset takaksinkytkentä- ja äänensävysäätöpiirit (kuten aikaisemmin todettiin) vaikuttaa siihen, että putkien välillä kuuluu selviä sointieroja?

Uskoakseni kyse on juuri tästä. Toistokaistan muokkaukseen tarkoitettu monimutkainen vastakytkentä ja etenkin sen muutokset yhdessä putken vahvistuskertoimen kanssa voivat muuttaa toistokaistaa edellä kerrotuin seurauksin. Osa vastakytkennästä viedään aina triodin hilalle asti.

Kaikki aiemmin mainitut Philipsit ovat yli 50vuotta vanhoja, joten  vastakytkennän komponenttiarvoissa, niin kondensaattoreissa kuin vastuksissa, on todennäköisesti jonkinasteista ikääntymisen aiheuttamia muutoksia.
EABC80 putken ikääntyminen yleensä pienenää triodin emssiota (vahvistusta) ja myös putken jyrkkyyttä(mA/V).

On hieman vaikeaa kuvitella, muutokset toistokaistassa johtuisivat pelkästään eri putkista, etenkin jos ne ovat suurin piirtein normaalikuntoisia.
Simulointisoftan omistajat ehkä voisivat katsoa miten kytkentä käyttäytyy esim. triodin eri vahvistusarvoilla ja joidenkin vastakytkennän komponenttiarvojen muutoksilla.

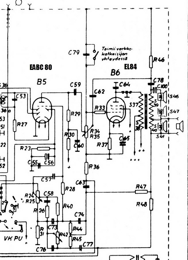
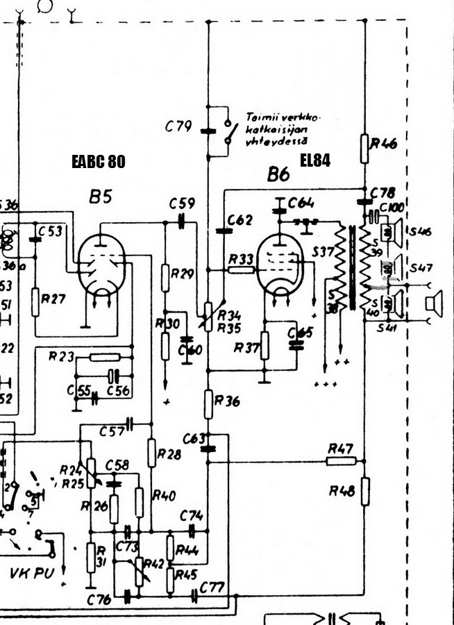
Edit: Ehkä liitteen kaavio pääteasteesta (F265V) selkeyttää hieman mistä on kyse tuossa taajuuskorjauksen rakenteessa.

terv.
Åke
« Viimeksi muokattu: 22.03.2015 klo 21:13:47 Kirjoittaja akenyh »  

F265V_p__teaste_sm.jpg ( 116 KB | 0 latausta )
F265V_p__teaste_sm.jpg
Sivun alkuun
 
IP kirjattu
 
Rariomies
YaBB Newbies
*
Poissa



Viestejä: 1
Re: Kysymys Philips B5SF62A volume-säätimen toiminnasta
Vastaus #10 - 24.03.2015 klo 23:17:08
Tulosta viesti  
Tervehdys!

Ajattelin tällä palstalla kysyä kun en ihan suoraan omaan radiooni liittyvää ketjua löytänyt. Philips minullakin, malli  H5 SF 86 A. Ja volumejutuista kysyttävää. Volumepotikka rätisee, mutta ei pelkästään sitä, vaan usein räsähtäessään (kun potikkaa kiertää tai vain liikuttelee eri suuntiin) leikkaa yhtäkkiä pois joko diskantin tai basson. Kun vähän hakee, löytyy se "kokonainen" soundikin kyllä. Mutta mikä voisi vaikuttaa siihen että rätinän mukana myös ja taajuus äkkkiä muuttuu/leikkautuu?
  
Sivun alkuun
 
IP kirjattu
 
Ville-Matti
God Member
*****
Poissa


SRSH<br />

Viestejä: 898
Re: Kysymys Philips B5SF62A volume-säätimen toiminnasta
Vastaus #11 - 06.04.2015 klo 11:29:18
Tulosta viesti  
Yleensä potikan rätinä-/ äänenväritysongelmiin auttaa voiteleva puhdistusaine, esimerkiksi PRF 7-78. Sitä kun suihkauttaa potikan sisälle (radiosta virrat pois päältä)  ja pyörittelee säädintä edestakaisin jonkin aikaa, potikan toiminta petrautuu.
  
Sivun alkuun
WWW  
IP kirjattu