Valitse kieli:
English
Suomi
Tervetuloa, Vieras. Ole hyvä ja
kirjaudu
tai
Rekisteröidy
Koti
Ohjeita
Haku
Kirjaudu
Rekisteröidy
Liity SRHS:n jäseneksi
SRHS Forum
›
Suomen Radiohistoriallinen Seura ry - Keskustelufoorumi
›
Entisöinti ja kunnostus yleisellä tasolla
› Asa755 ja ECH81
‹
Edellinen aihe
|
Seuraava aihe
›
Sivu: 1
Lähetä aihe
Tulosta
Asa755 ja ECH81 (Luettu 3752 kertaa)
GaRadio
YaBB Newbies
Poissa
SRHS
Viestejä: 27
Asa755 ja ECH81
15.02.2015 klo 15:30:11
Tulosta viesti
No heipä taas !
Yritän siis aikani kuluksi kasata asaa kasaan, ja nyt on yksi kummastusta herättänyt vika tahi puute. Eli siitä oli yksi kela pudonnut pois, oli johdot katkenneet, johdot olivat ech81 katodilla eli ech81:n piikki nro 3 ja toinen maihin. Nyt kun olen yrittänyt muiden vastaavien, eli viisi putkisten ja samoilla putkilla rakennettujen vastaanottimien kytkentäkaavoista "lukea" ohjeita, niin kaikissa on katodi kytketty suoraan maihin, mikä tuon kelan perimmäinen tarkoitus on. Tosin kyseessä voi ja saattaa olla perusteellinen omakin moka.
Olen tilannut ASA-CD:n mutta ei ole vielä tullut.
ps. Kaikesta huolimatta olen muutamien päivien aikana oppinut putkitekniikasta enemmän kuin nelisenkymmentä vuotta sitten ammattikoulun penkillä sain taottua Otto Limanin kirjaa päähäni.
IP kirjattu
balticsuper
God Member
Poissa
Viestejä: 888
Sijainti: Tampere
Re: Asa755 ja ECH81
Vastaus #1 -
15.02.2015 klo 16:07:04
Tulosta viesti
Taitaa olla tyyppinumerossa virhe, 755- mallia ei ole Asa-CD:llä, eikä
Asaradiomuseon listoillakaan.
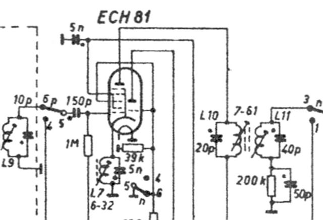
Eräissä malleissa on kuvailemasi kela, se on välitaajuudelle (485 kHz)
viritetty rinnakkaisresonanssipiiri.
Katodin voi kytkeä kokeeksi suoraan maihin mutta seurauksena voi olla
vt-asteen itsevärähtely, siinä tapauksessa estopiiri on asennettava.
Asa_756.jpg
( 31 KB | 0 latausta )
IP kirjattu
GaRadio
YaBB Newbies
Poissa
SRHS
Viestejä: 27
Re: Asa755 ja ECH81
Vastaus #2 -
15.02.2015 klo 16:23:28
Tulosta viesti
Kiitos "baltic" kuvasta, niin ja se virhe oli kirotusvhre, kyseessä oli tietysti ASA 775. Vielä yksi kysymys, millainenkohan tuon kelan arvo pitäisi olla, se oli kaiken lisäksi entinen kela muutenkin, lanka sentin pätkinä.
IP kirjattu
balticsuper
God Member
Poissa
Viestejä: 888
Sijainti: Tampere
Re: Asa755 ja ECH81
Vastaus #3 -
15.02.2015 klo 20:10:39
Tulosta viesti
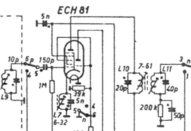
Asa 775:n vastaava kytkentä, muuten samanlainen mutta rinnakkaiskonkka
on 4700 pf. Calkulaattori väittää että kelan induktanssi on silloin 22.91175 mikrohenryä
(jos en nyt sekoillut näpyttelyissä, ei ole vahvimpia alueita).
Alkuperäinen kela jos on tallella niin siitä saa langanvahvuuden ja kierrosmäärän
voinee käämiä silmämääräisesti yhtä suureksi.
Jos kela ei virity oikealle taajuudelle niin rinnakkaiskonkan arvoa voi tarpeen mukaan
suurentaa/pienentää.
Asa_775__775L__-1.jpg
( 32 KB | 0 latausta )
IP kirjattu
GaRadio
YaBB Newbies
Poissa
SRHS
Viestejä: 27
Re: Asa755 ja ECH81
Vastaus #4 -
15.02.2015 klo 20:29:49
Tulosta viesti
Alkuperäisestä kelasta ei ole oikeastaan kuin palasia jäljellä, ja se ferriitti sisällä on entinen, eli päistä lohjennut. Mutta LCR-mittarilla saanee tuon 22 mikroa osumaan kohdalleen, ja jos purkaa jostain vanhasta kelasta lankaa, niin eiköhän se siitä. Sattui olemaan kelarunkoja joissa on ferriitti sisällä, ja merkkikin on sama, tosin televisiosta ja ehkä kymmenen vuotta nuoremmasta kuin ratio.
Vielä isot kiitokset.
IP kirjattu
GaRadio
YaBB Newbies
Poissa
SRHS
Viestejä: 27
ASAsta ja vähän muustakin
Vastaus #5 -
21.02.2015 klo 09:45:34
Tulosta viesti
Hieman edistystä on tapahtunut, eli lyhyiltä kuului yksi italialainen? asema mutta keskipitkät ja pitkät ovat mykkiä, paitsi keskipitkiltä tuli yhdestä kohtaa läpi hirviä "brummi". ULA sensijaan on ja pysyy aivan vaiti. Pitäisi vielä vaihtaa pari paperista konkkaa, ne tuskin ovat syyllisiä äänettömyyteen mutta arvot ovat hieman metsässä, ja tähän liittyykin yksi kysymys. Eli mistäkö voisi tilata jonkinlaisen kokoelman putkiradioihin ja vastaaviin sopivia kodensaattoreita, Partcoltahan niitä kyllä saa ja toimitus on ollut nopeaa mutta hintavaa, ei osat vaan postimaksut.
Niin ja edistysaskeleisiin kai voidaan laskea virkistävä "tälli" anodipuolelta.
Noista konkista vielä yksi kysymys, onko niitä mahd. laitettu ASAlla niistä mitä varastossa on, eli on konkkia joiden jännitekestoisuus on 3750 volttia paikoissa joissa tuollaisia jännitemääriä ei kai pitäisi olla.
IP kirjattu
RJL
God Member
Poissa
SRHS 612
Viestejä: 2768
Re: Asa755 ja ECH81
Vastaus #6 -
21.02.2015 klo 10:46:14
Tulosta viesti
Siirsin viestin tähän kun taitaa olla kyse samasta radiosta. Uraltonelta on ollut saatavana mainiota konkkasettiä:
http://www.uraltone.com/elektroniikan-komponentit/kondensaattorit/kondensaattori...
Näyttää nyt olevan backorder mutta saatavuutta kannattaa tiedustella. Noilla pärjää pitkälle.
Keskiaalloilla ei kuulukaan kuin pimeän aikaan, pitkillä vielä huonommin kun asemia siellä on vähemmän. Brummin kuuluminen kertoo että jotain eloa radiossa sillä aaltoalueella on. Konkkien arvot saakin olla aika paljon metsässä, ei vaikuta juurikaan toimintaan. Joku äänenvärin säätökytkentä on tarkempi mutta muutaman kymmenen prosentin heitto on vielä hyväksyttävissä.
Vanhoissa radioissa on usein laitettu turhan isoille jännitteille tehtyjä konkkia. Ainoat paikat missä niitä tarvitaan on päätemuuntajan ensiön yli, 600-Volttinen riittää sielläkin. Sitten joskus on verkkomuuntajan ensiön päistä runkoon vedetty 3750 Voltin 4,7 nF:n konkat, ne voi joko jättää pois tai korvata vastaavilla Y-kondensaattoreilla, vaikka tommoisilla:
http://www.partco.biz/verkkokauppa/product_info.php?cPath=2075_12_1028_1617&prod...
Uraltonella ei noita valitettavasti ole eivätkä ota myyntiin vaikka sitä tiedustelin.
Reijo Liljedahl - SRHS 612 - OH3AVA - SDXL 8092
IP kirjattu
Sivu: 1
Lähetä aihe
Tulosta
‹
Edellinen aihe
|
Seuraava aihe
›
Foorumihyppy »
Koti
» 10 viimeisintä viestiä
» 10 viimeisintä aihetta
Suomen Radiohistoriallinen Seura ry - Keskustelufoorumi
Suomen Radiohistoriallinen Seura ry
Jäsenalue
Yleistä radiohistoriasta
Kotimaiset radiot, televisiot ja äänentoistolaitteet
Ulkomaiset radiot, televisiot ja äänentoistolaitteet
Muut radio- ja elektroniikkalaitteet
Entisöinti ja kunnostus yleisellä tasolla ««
Omatekoiset laitteet ja rakentelu
Sotilasradiot ja Perinneradiot
Yleinen keskustelualue
Niitä Näitä
Haku päällä
« Koti
‹ Alue
SRHS Forum
» Powered by
YaBB 2.6.12
!
YaBB Forum Software
© 2000-2026. Kaikki oikeudet pidätetään.