Valitse kieli:
English
Suomi
Tervetuloa, Vieras. Ole hyvä ja
kirjaudu
tai
Rekisteröidy
Koti
Ohjeita
Haku
Kirjaudu
Rekisteröidy
Liity SRHS:n jäseneksi
SRHS Forum
›
Suomen Radiohistoriallinen Seura ry - Keskustelufoorumi
›
Entisöinti ja kunnostus yleisellä tasolla
› Celeston Concerto
‹
Edellinen aihe
|
Seuraava aihe
›
Sivu:
1
[2]
Lähetä aihe
Tulosta
Celeston Concerto (Luettu 15677 kertaa)
Jari
God Member
Poissa
SRSH
Viestejä: 808
Sijainti: Oulu
Re: Celeston Concerto
Vastaus #15 -
23.02.2015 klo 12:53:07
Tulosta viesti
Alkuperäisiä oikosulku- ja ylikuormitussuojia ei pidä mennä muuttelemaan. Jos näin tekee pitäisi radiomallille aikoinaan tehdyt vikasimulaatiotestit myös uusia. Tämä ei käytännössä ole oikein mahdollistakaan yksittäiselle laitteelle, testeissä kun tulee helposti myös tuhoa.
Jari
IP kirjattu
RJL
God Member
Poissa
SRHS 612
Viestejä: 2768
Re: Celeston Concerto
Vastaus #16 -
23.02.2015 klo 15:09:41
Tulosta viesti
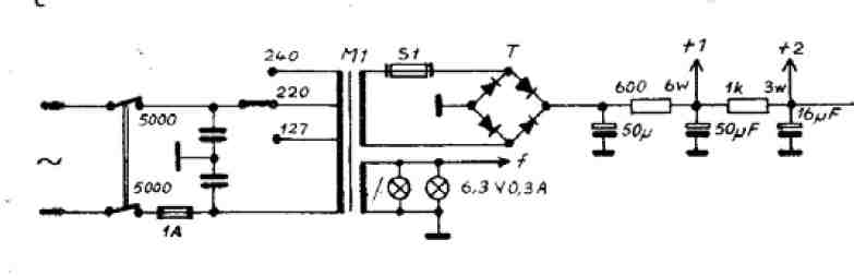
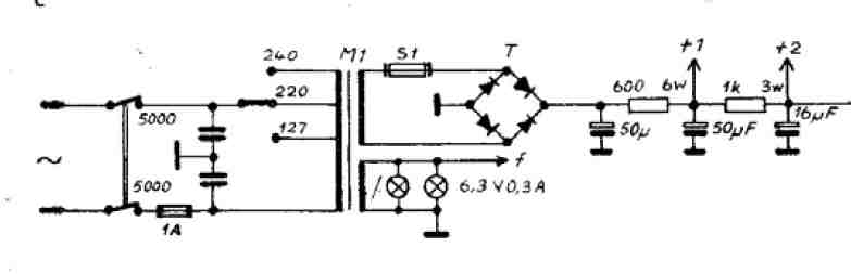
Concerton piirikaavio ei moista lämpösulaketta tunne ainakaan siinä paikassa. Muuntajan toision toisessa navassa on joku sulake joka voisi olla lämpösulake koska sen arvoa ei ole merkitty ja piirrosmerkki on erilainen kuin ensiöpuolen 1 A:n sulakkeella.
Celeston_005.jpg
( 13 KB | 0 latausta )
Reijo Liljedahl - SRHS 612 - OH3AVA - SDXL 8092
IP kirjattu
Ville-Matti
God Member
Poissa
SRSH<br />
Viestejä: 898
Re: Celeston Concerto
Vastaus #17 -
24.02.2015 klo 11:44:24
Tulosta viesti
Kiitos vastauksista! Kun tuo lämpösulake kerran on alkuperäinen, olkoon sitten siinä. AM-puolta pitäisi vielä tutkia, se meinaan toimii melko heikosti, jos ollenkaan. Ulkoantenniin jos lykkää kiinni, saattaa otollisissa olosuhteissa kuulla muutaman ulkomailta kantautuvan aseman, kun äänenvoimakkuutta on väännetty auki erittäin reilusti. Sisäantennilla (mm. pitkä johdonpätkä) mm. lyhytaaltoalueelta ei kuulu mitään.
Timo, sinulla kun on vastaava höyryradio ollut työn alla, niin millainen sen ula-puolen herkkyys on? Tämä kyllä soi hyvällä äänenlaadulla, mutta muihin koneisiin verrattuna herkkyys on ainakin viritysputken perusteella vaatimaton. Siinä missä esimerkiksi Celeston Reginan viritysviuhka on jollakin asemalla täysin auki, Concerton putki näyttää ehkä hädin tuskin puolta viuhkaa. Jotain hämminkiä taitaa ula-puolellakin siis vielä olla. Näppäimistössä ei ainakaan ULA-alueella pitäisi olla enää kontaktihäiriöitä.
WWW
IP kirjattu
Timo Haveri
God Member
Poissa
Viestejä: 2962
Sijainti: Parkano
Re: Celeston Concerto
Vastaus #18 -
24.02.2015 klo 15:08:29
Tulosta viesti
Ville-Matti kirjoitti
24.02.2015 klo 11:44:24:
Timo, sinulla kun on vastaava höyryradio ollut työn alla, niin millainen sen ula-puolen herkkyys on?
Sanoisin korjaamani Jupiterin olleen sieltä paremmasta päästä herkkyydeltään verrattuna muihin putkiradioihin. Tein siihen (vääräoppisesti!) ula-välitaajuuden säädön viritysilmän avulla ilman mittalaitteita. Sen jälkeen virityssilmän viuhka leveni kaikilla asemilla. Virityssilmä ei mene koskaan aivan täysin kiinni mutta tämä johtunee siitä, että en muuttanut virtysputken ympäristön komponentteja kun otin kaistansäädon pois käytöstä.
Timo
WWW
IP kirjattu
Ville-Matti
God Member
Poissa
SRSH<br />
Viestejä: 898
Re: Celeston Concerto
Vastaus #19 -
10.03.2015 klo 11:03:30
Tulosta viesti
Vaikuttaa siltä, että ulan herkkyys ja muut köhinät ovat korjautuneet Celestonin säännöllisen käytön myötä.
Timo, miten korjaamassasi Jupiterissa pelasi elektrostaattinen diskantti? Tässä Concertossa staattinen elementti soi käytännössä yhtä hyvin kuin dynaamisetkin elementit. Samoin on myös esimerkiksi Salora 805:ssa. Diskanttitoiston laatu on molemmissa radioissa erittäin siisti, verhoutumaton ja luonnollisen kuuloinen.
Ovat tässä viimeisen puolen vuoden aikana vanhat staattiset diskantit yllättäneet suorituskyvyllään allekirjoittaneen täysin. Nehän soivat erinomaisesti, mikäli radiokoneiston pääteaste on laadukas ja staattiset elementit ovat kunnossa. Pitänee varmaankin perua kaikki aikaisemmat kielteiset puheeni elektrostaattisista diskanttielementeistä.
WWW
IP kirjattu
Timo Haveri
God Member
Poissa
Viestejä: 2962
Sijainti: Parkano
Re: Celeston Concerto
Vastaus #20 -
12.03.2015 klo 15:17:37
Tulosta viesti
Ville-Matti kirjoitti
10.03.2015 klo 11:03:30:
Timo, miten korjaamassasi Jupiterissa pelasi elektrostaattinen diskantti? Tässä Concertossa staattinen elementti soi käytännössä yhtä hyvin kuin dynaamisetkin elementit. Samoin on myös esimerkiksi Salora 805:ssa. Diskanttitoiston laatu on molemmissa radioissa erittäin siisti, verhoutumaton ja luonnollisen kuuloinen.
Enpä siitä juuri muuta todennut kuin, että se toimii. Aika hiljainen ääni siinä on kuten kaikissa muissakin vastaavissa mutta kaipa se tuo oman lisänsä ääneen. Itse radiossa kokonaisuutena oli erittäin miellyttävä ääni.
Timo
WWW
IP kirjattu
Sivu:
1
[2]
Lähetä aihe
Tulosta
‹
Edellinen aihe
|
Seuraava aihe
›
Foorumihyppy »
Koti
» 10 viimeisintä viestiä
» 10 viimeisintä aihetta
Suomen Radiohistoriallinen Seura ry - Keskustelufoorumi
Suomen Radiohistoriallinen Seura ry
Jäsenalue
Yleistä radiohistoriasta
Kotimaiset radiot, televisiot ja äänentoistolaitteet
Ulkomaiset radiot, televisiot ja äänentoistolaitteet
Muut radio- ja elektroniikkalaitteet
Entisöinti ja kunnostus yleisellä tasolla ««
Omatekoiset laitteet ja rakentelu
Sotilasradiot ja Perinneradiot
Yleinen keskustelualue
Niitä Näitä
Haku päällä
« Koti
‹ Alue
SRHS Forum
» Powered by
YaBB 2.6.12
!
YaBB Forum Software
© 2000-2026. Kaikki oikeudet pidätetään.