Valitse kieli:
English
Suomi
Tervetuloa, Vieras. Ole hyvä ja
kirjaudu
tai
Rekisteröidy
Koti
Ohjeita
Haku
Kirjaudu
Rekisteröidy
Liity SRHS:n jäseneksi
SRHS Forum
›
Suomen Radiohistoriallinen Seura ry - Keskustelufoorumi
›
Entisöinti ja kunnostus yleisellä tasolla
› Philips B4SF 72 A asteikkonaru
‹
Edellinen aihe
|
Seuraava aihe
›
Sivu: 1
Lähetä aihe
Tulosta
Philips B4SF 72 A asteikkonaru (Luettu 2604 kertaa)
Mikakoo
Full Member
Poissa
SRSH #661
Viestejä: 133
Philips B4SF 72 A asteikkonaru
02.12.2014 klo 07:52:27
Tulosta viesti
Kunnostuksen alla on nyt Philips B4SF 72 A radio, josta puuttuu asteikkonaru kokonansa.
Löytyykö keneltäkään ohjetta siihen ?
IP kirjattu
balticsuper
God Member
Poissa
Viestejä: 888
Sijainti: Tampere
Re: Philips B4SF 72 A asteikkonaru
Vastaus #1 -
02.12.2014 klo 12:09:53
Tulosta viesti
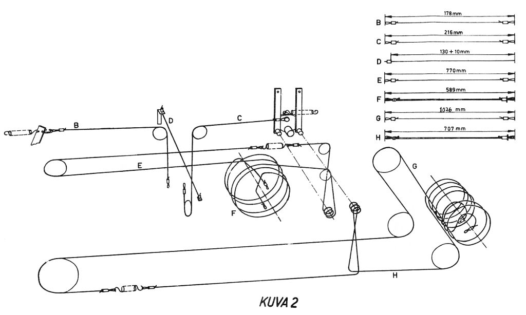
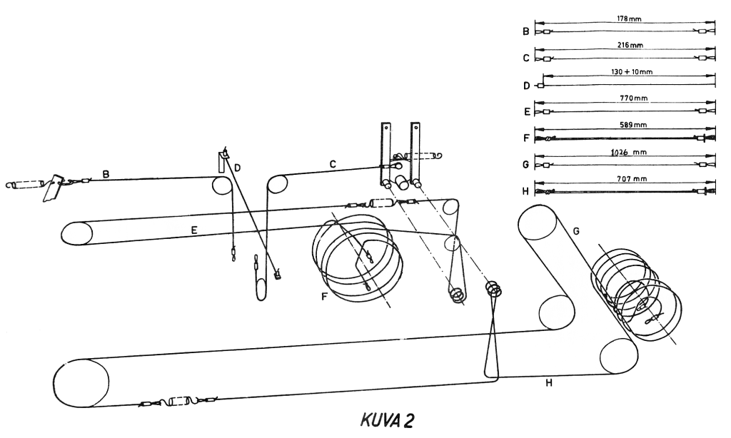
B5SF62A:n narukaavio kuvassa, pari muutakin ''sinnepäin''
olevaa löytyy, voin lähettää meilillä jos tästä ei ole apua.
IMG_0008_rz.gif
( 82 KB | 0 latausta )
IP kirjattu
Mikakoo
Full Member
Poissa
SRSH #661
Viestejä: 133
Re: Philips B4SF 72 A asteikkonaru
Vastaus #2 -
03.12.2014 klo 07:43:29
Tulosta viesti
Kiitos !
Pitääpäs tutkia tarkemmin, tuo näyttäisi kyllä olevan aika lähellä oikeaa
IP kirjattu
Sivu: 1
Lähetä aihe
Tulosta
‹
Edellinen aihe
|
Seuraava aihe
›
Foorumihyppy »
Koti
» 10 viimeisintä viestiä
» 10 viimeisintä aihetta
Suomen Radiohistoriallinen Seura ry - Keskustelufoorumi
Suomen Radiohistoriallinen Seura ry
Jäsenalue
Yleistä radiohistoriasta
Kotimaiset radiot, televisiot ja äänentoistolaitteet
Ulkomaiset radiot, televisiot ja äänentoistolaitteet
Muut radio- ja elektroniikkalaitteet
Entisöinti ja kunnostus yleisellä tasolla ««
Omatekoiset laitteet ja rakentelu
Sotilasradiot ja Perinneradiot
Yleinen keskustelualue
Niitä Näitä
Haku päällä
« Koti
‹ Alue
SRHS Forum
» Powered by
YaBB 2.6.12
!
YaBB Forum Software
© 2000-2026. Kaikki oikeudet pidätetään.