Valitse kieli:
English
Suomi
Tervetuloa, Vieras. Ole hyvä ja
kirjaudu
tai
Rekisteröidy
Koti
Ohjeita
Haku
Kirjaudu
Rekisteröidy
Liity SRHS:n jäseneksi
SRHS Forum
›
Suomen Radiohistoriallinen Seura ry - Keskustelufoorumi
›
Ulkomaiset radiot, televisiot ja äänentoistolaitteet
› Mikä wanha vastaanotin?
‹
Edellinen aihe
|
Seuraava aihe
›
Sivu:
[1]
2
Lähetä aihe
Tulosta
Mikä wanha vastaanotin? (Luettu 14452 kertaa)
Nipa
God Member
Poissa
SRHS #477
Viestejä: 1622
Sijainti: Turku
Mikä wanha vastaanotin?
09.01.2014 klo 19:15:42
Tulosta viesti
Kuva-arvoituksia ei ole hetkeen ollut foorumilla joten tässä yksi.
Vastaanotin jossa joidenkin mielestä eräs komponentti on tavallaan sellainen "ensimmäinen maailmassa".
Valmistusmäärä lienee ollut aikoinaan huomattavan suuri mutta oli minulle miellyttävä löytö, varsinkin kun jo melkein olin luopunut toivosta tuollaisen löytämiseksi suomesta..
Nipa
rx_1.jpg
( 84 KB | 0 latausta )
IP kirjattu
Jha
Full Member
Poissa
Viestejä: 143
Re: Mikä wanha vastaanotin?
Vastaus #1 -
09.01.2014 klo 19:38:20
Tulosta viesti
Olisiko se sellainen IC-piiri... Lähinnä tuo putki vaikuttaa niin monimutkaiselta.
IP kirjattu
Jorma Raita
God Member
Poissa
Viestejä: 1730
Sijainti: Helsinki
Re: Mikä wanha vastaanotin?
Vastaus #2 -
09.01.2014 klo 20:28:34
Tulosta viesti
Menee ihan arvailujen puolelle. Olisikohan tuo sellainen kolmoisputki saman lasikuvun sisällä?
Olikohan siinä 3 triodia samassa kuvussa?
En vain yhtään muista, mistä olen siitä lukenut.
Jorma
IP kirjattu
OHhami
Full Member
Poissa
SRHS, Helsinki
Viestejä: 224
Re: Mikä wanha vastaanotin?
Vastaus #3 -
09.01.2014 klo 20:51:13
Tulosta viesti
Kyseessä on Löewe radio noin vuodelta 1926. Löewe kehitti kuvassa olevan putken, jossa on sisällä kolme eri putkitoimintaa ja niiden kytkentään tarvittavat vastukset ja kondensaattorit. Putken vakuumin säilyttämiseksi myös kondensaattorit olivat suljettu omiin hermeettisiin lasiputkiinsa.
Lisätietoa:
http://www.electricstuff.co.uk/loewe.html
http://www.radiomuseum-bocket.de/museum/deutsch/loewe-roehren-1.php
Syy tällaisen putken kehittämiseen oli Telefunkenin patentti, jonka vuoksi radioiden valmistajat joutuivat maksamaan Telefunkenille putkien lukumäärästä riippuvan lisenssimaksun.
Näitä radioita on ollut Friedrichshafenin Ham Radio messjen kirpputorilla. Myynnissä on ollut myös uustuotantona tehtyjä korvaavia putkia. Niissä on ollut ilmanpaineisessa lasikuvussa subminiatyyriputkia ja tarvittavat komponentit. Ulkonäkö on alkuperäisen Löewen putken kaltainen. Kirpputori on yleensä ollut kolmen suuren salin tiloissa. Myynnissä on kaikkea modernista tekniikasta todelliseen antiikkiin.
Suosittelen Ham Radio messuilla käyntiä, nyt seuraava on viikko Juhannuksen jälkeen (pe - su).
Eero, OH2AXU
«
Viimeksi muokattu: 09.01.2014 klo 21:54:03 Kirjoittaja OHhami
»
Eero Leppämäki - OH2AXU
IP kirjattu
Jorma Raita
God Member
Poissa
Viestejä: 1730
Sijainti: Helsinki
Re: Mikä wanha vastaanotin?
Vastaus #4 -
09.01.2014 klo 21:07:54
Tulosta viesti
Löytyihän se radio Löewe OE333. Taisi nimimerkki OHhami olla hieman nopeampi. Joillakin tuo muisti pelaa paremmin.
Jorma
IP kirjattu
Maja
God Member
Poissa
SRHS 478
Viestejä: 3372
Sijainti: Lounais-Suomi
Re: Mikä wanha vastaanotin?
Vastaus #5 -
09.01.2014 klo 22:00:43
Tulosta viesti
Aika hyvät on em. messuilla valikoimat...
http://www.youtube.com/watch?v=kVEagfjraw8
Markku
IP kirjattu
Nipa
God Member
Poissa
SRHS #477
Viestejä: 1622
Sijainti: Turku
Re: Mikä wanha vastaanotin?
Vastaus #6 -
10.01.2014 klo 07:26:57
Tulosta viesti
Näinhän se on eli vastaanotin on Loewe OE333 ja putki 3NF.
Täytyy sanoa että putki on upea ja jos saksan eBaysta seuraa toteutuneiden kauppojen hintoja(putken/vastaanottimen) niin ei niitä hirveästi taida kuitenkaan olla markkinoilla edes saksassa..tiedä sitten?
Nyt täytyy vain miettiä tarkkaan minkälaisen kunnostuksen teen vastaanottimelle vai pyyhinkö vain pölyt..
Nipa
IP kirjattu
balticsuper
God Member
Poissa
Viestejä: 888
Sijainti: Tampere
Re: Mikä wanha vastaanotin?
Vastaus #7 -
10.01.2014 klo 08:48:43
Tulosta viesti
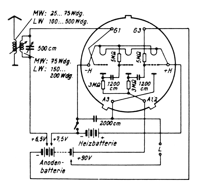
Tässä on OE 333:n kytkinkaava, ja tuolla on radiosta jokseenkin kaikki mahdollinen
ja vähän enemmänkin, saksalaisella perusteellisuudella. Joillakin on aikaa ja taitoa...
http://www.jogis-roehrenbude.de/Bastelschule/OE333-Nachbau/OE333-Nachbau.htm
Wireles World lehdessä oli joskus 70-luvulla artikkeli, siinä tuo kolmikkoputki esiteltiin
ensimmäisenä IC-piirinä ja sehän se onkin, vähän näkökulmasta riippuen.
Lehtileike on skannattuna mutta kadonnut jonnekin yhden teran levyn uumeniin
enkä sitä onnistunut saamaan näkösälle.
OE_333_kaavio.gif
( 62 KB | 0 latausta )
IP kirjattu
OH5IJL
God Member
Poissa
SRHS, Hamina
Viestejä: 1243
Re: Mikä wanha vastaanotin?
Vastaus #8 -
10.01.2014 klo 09:07:15
Tulosta viesti
Kohtuullisen kovia ovat hintapyynnötkin putkesta. Ainakin tässä:
http://www.ebay.com/itm/LOEWE-3NF-MULTI-VALVE-THE-FIRST-INTEGRATED-CIRCUIT-/1605...
Ilpo
Ilpo J Leppänen - OH5IJL
WWW
IP kirjattu
balticsuper
God Member
Poissa
Viestejä: 888
Sijainti: Tampere
Re: Mikä wanha vastaanotin?
Vastaus #9 -
10.01.2014 klo 09:23:29
Tulosta viesti
Toivossa on hyvä elää... sanoi lapamato
IP kirjattu
Timo Haveri
God Member
Poissa
Viestejä: 2962
Sijainti: Parkano
Re: Mikä wanha vastaanotin?
Vastaus #10 -
10.01.2014 klo 10:36:05
Tulosta viesti
Paremman kuvan hinnoista saa kun katsoo päättyneitä huutokauppoja:
http://www.ebay.com/sch/i.html?_from=R40&_nkw=loewe+3NF&_in_kw=1&_ex_kw=&_sacat=...
Listassa vihreällä merkityt hinnat ovat myytyjä ja punaiset eivät ole menneet kaupaksi. Kyllä noista näköjään ihan mukavasti saa maksaa. NOS-putkesta on maksettu 1200 euroa ja risat.
Timo
WWW
IP kirjattu
Nipa
God Member
Poissa
SRHS #477
Viestejä: 1622
Sijainti: Turku
Re: Mikä wanha vastaanotin?
Vastaus #11 -
10.01.2014 klo 10:51:43
Tulosta viesti
Pyytää aina saa mutta tuollaisia hintoja on tässä tapauksessa turha miettiä, ko.rompe jää kuitenkin omaan hyllyyni..
Yritin vähän selvitellä tuon minun yksilöni historiaa, on löytynyt jonkin vintintyhjennyksen yhteydessä ja kulkeutunut muun romppeen mukana divarinpitäjälle.
Nipa
IP kirjattu
plamminen
God Member
Poissa
SRHS: 610
Viestejä: 1642
Sijainti: Loviisa
Re: Mikä wanha vastaanotin?
Vastaus #12 -
10.01.2014 klo 12:43:30
Tulosta viesti
Timo
Miten haetaan ebaysta sulkeutuneita kauppoja?
pentti
Pentti Lamminen
IP kirjattu
Nipa
God Member
Poissa
SRHS #477
Viestejä: 1622
Sijainti: Turku
Re: Mikä wanha vastaanotin?
Vastaus #13 -
10.01.2014 klo 13:57:48
Tulosta viesti
En oo Timo mutta vastaan silti..
eBayssä esim.tuoteryhmäsivun vasemmassa reunassa on ruksattava Show only otsikon alta "sold listings".
Saksan eBayssä vastaavasti Nur anzeigen ja siitä "Verkaufte artikel".
Nipa
IP kirjattu
Timo Haveri
God Member
Poissa
Viestejä: 2962
Sijainti: Parkano
Re: Mikä wanha vastaanotin?
Vastaus #14 -
11.01.2014 klo 00:53:20
Tulosta viesti
Nipan sinänsä tyhjentävään vastaukseen lisään vielä, että sinisen "Search" -nappulan oikealla puolella on linkki "Advanced". Siitä pääsee kerralla näkemään kaikki mahdolliset lisähakuoptiot.
Timo
WWW
IP kirjattu
Sivu:
[1]
2
Lähetä aihe
Tulosta
‹
Edellinen aihe
|
Seuraava aihe
›
Foorumihyppy »
Koti
» 10 viimeisintä viestiä
» 10 viimeisintä aihetta
Suomen Radiohistoriallinen Seura ry - Keskustelufoorumi
Suomen Radiohistoriallinen Seura ry
Jäsenalue
Yleistä radiohistoriasta
Kotimaiset radiot, televisiot ja äänentoistolaitteet
Ulkomaiset radiot, televisiot ja äänentoistolaitteet ««
Muut radio- ja elektroniikkalaitteet
Entisöinti ja kunnostus yleisellä tasolla
Omatekoiset laitteet ja rakentelu
Sotilasradiot ja Perinneradiot
Yleinen keskustelualue
Niitä Näitä
Haku päällä
« Koti
‹ Alue
SRHS Forum
» Powered by
YaBB 2.6.12
!
YaBB Forum Software
© 2000-2026. Kaikki oikeudet pidätetään.