Valitse kieli:
English
Suomi
Tervetuloa, Vieras. Ole hyvä ja
kirjaudu
tai
Rekisteröidy
Koti
Ohjeita
Haku
Kirjaudu
Rekisteröidy
Liity SRHS:n jäseneksi
SRHS Forum
›
Suomen Radiohistoriallinen Seura ry - Keskustelufoorumi
›
Ulkomaiset radiot, televisiot ja äänentoistolaitteet
› Luxor Tourist R93LB kaavio
‹
Edellinen aihe
|
Seuraava aihe
›
Sivu: 1
Lähetä aihe
Tulosta
Luxor Tourist R93LB kaavio (Luettu 6440 kertaa)
Lasse Nirhamo
God Member
Poissa
SRHS #12
Viestejä: 962
Sijainti: Nurmes
Luxor Tourist R93LB kaavio
11.11.2013 klo 10:53:18
Tulosta viesti
Löytyykö kaaviota ko radioon.
Vastaava on Skantic S234AB
Luxoria on valmistettu myös Suomessa?, Turisti-nimellä
Ystävällisesti Lasse - Radiohistorian parissa jo vuodesta 1951
IP kirjattu
HeikT
God Member
Poissa
SRHS 782
Viestejä: 776
Sijainti: Lohja
Re: Luxor Tourist R93LB kaavio
Vastaus #1 -
11.11.2013 klo 11:05:12
Tulosta viesti
Lasse Nirhamo kirjoitti
11.11.2013 klo 10:53:18:
Luxoria on valmistettu myös Suomessa?, Turisti-nimellä
Pitää paikkansa, sitä valmisti eräs lohjalainen Iskumetalli Oy -niminen firma josta myöhemmin syntyi Finlux...
IP kirjattu
balticsuper
God Member
Poissa
Viestejä: 888
Sijainti: Tampere
Re: Luxor Tourist R93LB kaavio
Vastaus #2 -
11.11.2013 klo 11:19:20
Tulosta viesti
Lainaus:
Löytyykö kaaviota ko radioon.
Juu!
IP kirjattu
jklaukka
God Member
Poissa
SRHS #490
Viestejä: 574
Sijainti: Joensuu/Kajaani
Re: Luxor Tourist R93LB kaavio
Vastaus #3 -
11.11.2013 klo 11:19:21
Tulosta viesti
Minulla on tuo suomen/ruotsinkielinen versio. Ainakin tarkoitettu Suomen markkinoille. Varmuutta valmistuspaikasta ei ole. Koestuslappu on ruotsinkielinen "provetikett". Kaipailisin myös kaaviota. Ei toimi, ei. Vielä.
-Jouko
IP kirjattu
Lasse Nirhamo
God Member
Poissa
SRHS #12
Viestejä: 962
Sijainti: Nurmes
Re: Luxor Tourist R93LB kaavio
Vastaus #4 -
11.11.2013 klo 11:26:16
Tulosta viesti
Laitoin yv:n, ilmeisesti Joukokin voi tehdä saman...
Ystävällisesti Lasse - Radiohistorian parissa jo vuodesta 1951
IP kirjattu
RJL
God Member
Poissa
SRHS 612
Viestejä: 2768
Re: Luxor Tourist R93LB kaavio
Vastaus #5 -
09.10.2015 klo 09:47:32
Tulosta viesti
Työpöydälleni ilmestyi myöskin tuollainen Scantic S234AB -tyyppinen putkimatkaradio:
http://www.radiomuseum.org/r/skantic_s234ab.html
Ja kuten alkuperäisestä otsikosta ilmenee on samaa radiota tehty Suomessa Luxor Tourist R93LB -nimellä. Kaaviota kaipaisin nyt minäkin kun ei oikein uskalla hehkujakaan kytkeä kun hehkuparistoiksi ehdotetaan 2x4,5 Volttia, ei riitä mielikuvitus miten viittä 1,5 Voltin putkea hehkutellaan 4,5 tai 9 Voltilla.
Reijo Liljedahl - SRHS 612 - OH3AVA - SDXL 8092
IP kirjattu
putkinotko
God Member
Poissa
SRHS # 751
Viestejä: 1881
Sijainti: Lohja
Re: Luxor Tourist R93LB kaavio
Vastaus #6 -
09.10.2015 klo 10:40:50
Tulosta viesti
Moro
Sarjaan kytkettynä 4x1,4V+2,8V=8,4V, eli paristot sarjaan 9V
Jussi
IP kirjattu
jklaukka
God Member
Poissa
SRHS #490
Viestejä: 574
Sijainti: Joensuu/Kajaani
Re: Luxor Tourist R93LB kaavio
Vastaus #7 -
09.10.2015 klo 10:52:29
Tulosta viesti
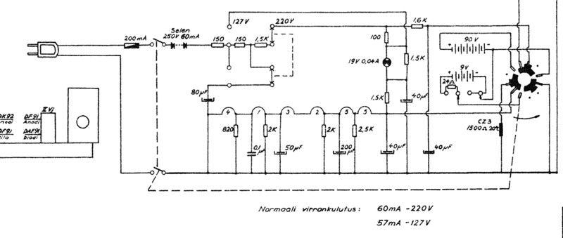
Tuolleen ne on kytketty. Koko kaaviokin löytyy, sain balticsuperilta.
-Jouko
Edit. Kannattaa tarkistaa komponentit ennen virran kytkentää. Jos tuossa ketjussa lyytti on oikarissa, niin saattaa hehku kärähtää.
luxor_004.jpg
( 50 KB | 0 latausta )
IP kirjattu
RJL
God Member
Poissa
SRHS 612
Viestejä: 2768
Re: Luxor Tourist R93LB kaavio
Vastaus #8 -
09.10.2015 klo 11:19:41
Tulosta viesti
Kiitoksia virtalähteen kuvasta, tarkistetaan ensin nuo ja katsotaan sitten alkaako soimaan. Verkkojännitettä en viitsi edes kokeilla, jotenkin hehkujännitteen tekeminen ilman muuntajaa verkkojännitteestä ei tunnu kovin varmalta ratkaisulta. Voithan tietysti lähettää koko kuvankin, sähköposti löytyy kun napsautat tuota nimimerkkiäni.
Ihan oikein putkinotko huomautti että pääteputken hehku onkin 2,8 V jolloin pienellä lisävastuksella saadaan hehkuvirta 50 mA:ksi. No nyt ainakin uskaltaa kokeilla tarkistusten jälkeen.
Reijo Liljedahl - SRHS 612 - OH3AVA - SDXL 8092
IP kirjattu
Sivu: 1
Lähetä aihe
Tulosta
‹
Edellinen aihe
|
Seuraava aihe
›
Foorumihyppy »
Koti
» 10 viimeisintä viestiä
» 10 viimeisintä aihetta
Suomen Radiohistoriallinen Seura ry - Keskustelufoorumi
Suomen Radiohistoriallinen Seura ry
Jäsenalue
Yleistä radiohistoriasta
Kotimaiset radiot, televisiot ja äänentoistolaitteet
Ulkomaiset radiot, televisiot ja äänentoistolaitteet ««
Muut radio- ja elektroniikkalaitteet
Entisöinti ja kunnostus yleisellä tasolla
Omatekoiset laitteet ja rakentelu
Sotilasradiot ja Perinneradiot
Yleinen keskustelualue
Niitä Näitä
Haku päällä
« Koti
‹ Alue
SRHS Forum
» Powered by
YaBB 2.6.12
!
YaBB Forum Software
© 2000-2026. Kaikki oikeudet pidätetään.