Valitse kieli:
English
Suomi
Tervetuloa, Vieras. Ole hyvä ja
kirjaudu
tai
Rekisteröidy
Koti
Ohjeita
Haku
Kirjaudu
Rekisteröidy
Liity SRHS:n jäseneksi
SRHS Forum
›
Suomen Radiohistoriallinen Seura ry - Keskustelufoorumi
›
Entisöinti ja kunnostus yleisellä tasolla
› ULA:n virittäminen
‹
Edellinen aihe
|
Seuraava aihe
›
Sivu:
1
2
[3]
Lähetä aihe
Tulosta
ULA:n virittäminen (Luettu 46411 kertaa)
HarO
God Member
Poissa
SRHS
Viestejä: 1226
Re: ULA:n virittäminen
Vastaus #30 -
28.10.2010 klo 14:39:14
Tulosta viesti
Aivan mainintana: Törön "ULA-kirja" ja "Vianetsintä..." löytyy raakaskannattuna (omaan käyttöön) esim. allekirjoittaneelta. En nyt tältä istumalta muista mihin tarkkuuteen sen skannasin, mutta ruutulukemiseen ainakin erinomaisen riittävä. Skanneri Epson V500, eli laatu on ihan hyvä.
EDIT: 300 dpi, näemmä.
«
Viimeksi muokattu: 28.10.2010 klo 20:07:35 Kirjoittaja HarO
»
Joka hetki on poikkeus - S. Paronen
IP kirjattu
RJL
God Member
Poissa
SRHS 612
Viestejä: 2768
Re: ULA:n virittäminen
Vastaus #31 -
25.11.2014 klo 18:06:48
Tulosta viesti
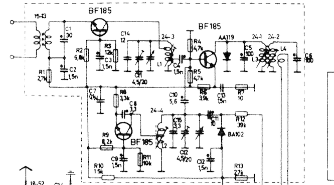
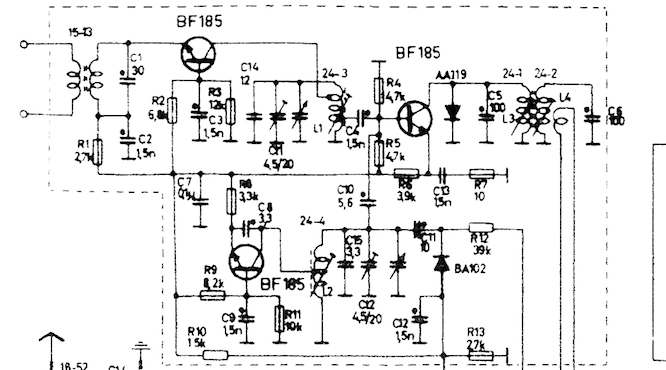
Olen päässyt harrasteessa sille tasolle että normaalin suhdeilmaisimen ja välitaajuusvahvistimen virittäminen sweeppigeneraattorilla ja oskilloskoopilla alkaa jo sujua. Jopa äänenlaatu on muutamassa radiossa tullut omaa korvaa miellyttäväksi. Nyt kuitenkin tuli vastaan ASA 1189 transistoroitu pöytäradio jonka ilmaisin onkin vähän erilainen.
Jonkinlaiselta suhdeilmaisimelta se näyttää mutta ihmeellisintä on että ensiön ja toision kelasydämiä saa kierrellä mihin tahansa äänenlaadun muuttumatta. Elektrolyyttikonkkien yhdyspisteestä saa oskilloskoopille mallikelpoisen S-käyrän, ainoa murhe on se että suoran keskipiste ei ole 10,7 MHz:n kohdalla vaan 50 kHz sivussa. Mutta en saa siirrettyä käyrää mihinkään vaikka mitä ruuvaa? Yleensä ensiön ja toision säädöt ovat olleet hyvinkin tarkkoja ja herkkiä. Sweeppiignaalia olen syöttänyt viimeisen trankun kannalle tai ulapurkin välitaajuuslähtöön, sama tulos.
Mitenkähän tällainen ilmaisin kuuluisi virittää, olenko jossain aivan hakoteillä?
Ilmaisin.jpg
( 84 KB | 0 latausta )
Reijo Liljedahl - SRHS 612 - OH3AVA - SDXL 8092
IP kirjattu
plamminen
God Member
Poissa
SRHS: 610
Viestejä: 1643
Sijainti: Loviisa
Re: ULA:n virittäminen
Vastaus #32 -
25.11.2014 klo 18:24:37
Tulosta viesti
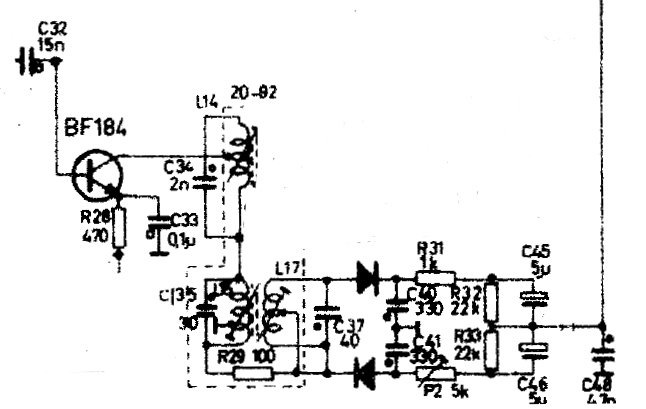
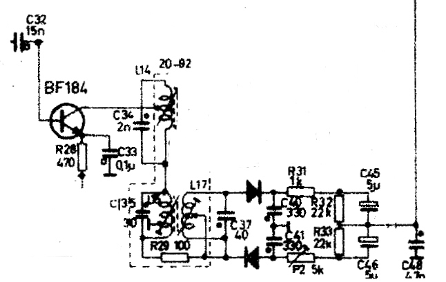
Jos ymmärsin oikein on välitaajuus pielessä. Korjaantuu kun
säädät sekoitimen oskillaattoria L2 tai C12 tuon 50kHz vähän suunnasta riippuen.
1189.jpg
( 143 KB | 0 latausta )
Pentti Lamminen
IP kirjattu
RJL
God Member
Poissa
SRHS 612
Viestejä: 2768
Re: ULA:n virittäminen
Vastaus #33 -
25.11.2014 klo 19:27:03
Tulosta viesti
Yritin kertoa että ilmaisimen nollakohta on 50 kHz pielessä, 10,750 kHz:ssa. Edeltävät välitaajuusmuuntajat saa kyllä hienosti viritettyä 10,750 kHz taajuudellekin ja resonanssit ovat terävät kuten kuuluukin mutta viimeisen ilmaisinpöntön kelasydämillä ei tunnu olevan minkäänlaista vaikutusta. Käytän signaalina 10-11 MHz sweeppia joten oskillaattoritaajuudella ei ole merkitystä. Ääni ei ole aivan puhdas vaan jonkin verran säröinen. S-käyrä on hieno, ainoastaan 10,7 markkeri tuon 50 kHz sivussa.
Reijo Liljedahl - SRHS 612 - OH3AVA - SDXL 8092
IP kirjattu
akenyh
God Member
Poissa
SRHS 257
Viestejä: 1155
Sijainti: Halikko (Salo)
Re: ULA:n virittäminen
Vastaus #34 -
25.11.2014 klo 22:05:11
Tulosta viesti
Mihin syötät sweepin sisään ja voiko signaalitasoa säätää?
Kyllä suhdeilmasin on aivan normaali mutta symmetrinen, eli pt-signaali saadaan kuormavastusten (ja elkojen) keskipisteestä. Samasta otetaan myös ohjaus AFC:lle eli ohjausjännite (dc) ulaoskillaattorin varicapille BA102. (AUTO-näppäimellä kytketään AFC päälle/pois.)
Kokeile syöttää signaali suoraan viimeisen VT transistorin kannalle, jos ei ilmaisin tällöin virity on jossain virityspiirien osissa (tai BF184) vikaa??
Mistä pisteestä katsot 10,7MHz = ilmaisimen ensiön ja mistä s-käyrän (toision) ulostulon?
IP kirjattu
RJL
God Member
Poissa
SRHS 612
Viestejä: 2768
Re: ULA:n virittäminen
Vastaus #35 -
25.11.2014 klo 22:37:33
Tulosta viesti
Lainaus:
Mihin syötät sweepin sisään ja voiko signaalitasoa säätää?
Kyllä suhdeilmasin on aivan normaali mutta symmetrinen, eli pt-signaali saadaan kuormavastusten (ja elkojen) keskipisteestä. Samasta otetaan myös ohjaus AFC:lle eli ohjausjännite (dc) ulaoskillaattorin varicapille BA102. (AUTO-näppäimellä kytketään AFC päälle/pois.)
Kokeile syöttää signaali suoraan viimeisen VT transistorin kannalle, jos ei ilmaisin tällöin virity on jossain virityspiirien osissa (tai BF184) vikaa??
Mistä pisteestä katsot 10,7MHz = ilmaisimen ensiön ja mistä s-käyrän (toision) ulostulon?
Olen syöttänyt signaalia sekä viimeisen BF184:n kannalle että ulapurkin lähtöön jolloin koko vt-ketju on ollut mukana, sama tulos, nätti s-käyrä mutta ei säädy kelasydämillä yhtään. Edellisen vt-muuntajan sydämillä on terävät resonanssit jotka jonkin verran muuttavat s-käyrää. Signaalitasoa pystyy säätämään. Ilmaisimen toisiota olen katsonut elekrolyyttien yhdyspisteestä, samasta mistä pientaajuuskin lähtee. Ensiötä en tiedä mistä katsoisin? AFC tuntuu toimivan oikein.
Reijo Liljedahl - SRHS 612 - OH3AVA - SDXL 8092
IP kirjattu
RJL
God Member
Poissa
SRHS 612
Viestejä: 2768
Re: ULA:n virittäminen
Vastaus #36 -
26.11.2014 klo 09:14:51
Tulosta viesti
Vika löytyi! Illalla sänkyyn mennessä mietin asiaa ja aloin epäillä että en kai vaan kääntele vääriä kelasydämiä kun ääni ja s-käyrä ei muutu yhtään. Oikein mikään ei enää tuntunut luontevalta selitykseltä.
Aamulla heti sitten tarkistamaan asiaa ja kyllä huolto-ohjeen kuvan mukaan kelat oli oikeita. Aloin sitten katselemaan tarkemmin komponentteja välitaajuuspurkin ympärillä ja katso - huolto-ohjeessa oli virhe, AM- ja ULA-purkit oli merkitty väärin päin. L15/L17 jotka ovat ULA:n ilmaisinkelat ja AM-kelat L16/L14 ovat vaihtaneet paikkaa! Olin siis koko ajan väännellyt AM-puolen purkkeja, ei ihme ettei ULA:an ollut mitään vaikutusta. Kun väänteli oikeita kelasydämiä alkoi S-käyrä liikkumaan heti ja meni helposti kohdalleen. Näin helposti sitä tulee jymäytetyksi kun pitää joitain asioita kuten huolto-ohjetta itsestäänselvyytenä. Ei ole varmaan mallisarjassa paljon ollut vikoja kun ei ole aikaisemmin tullut ilmi.
Ilmaisin1.jpg
( 41 KB | 0 latausta )
Reijo Liljedahl - SRHS 612 - OH3AVA - SDXL 8092
IP kirjattu
akenyh
God Member
Poissa
SRHS 257
Viestejä: 1155
Sijainti: Halikko (Salo)
Re: ULA:n virittäminen
Vastaus #37 -
26.11.2014 klo 10:41:23
Tulosta viesti
Hienoa Reijo, että "vika" löytyi!
Oireet kuullostivat kyllä hieman erikoisilta mutta eipä tullut tuo mahdollisuus mieleen.
Huolto-ohjeissa on välillä virheitä. Usein saattoi esim. kaavion lähtökohtana olla lähes samanlainen aiempi versio, jolloin osa muutoksista jäi korjaamatta. Lisäksi piirtäjä ei välttämättä osannut kaaviota toiminnallisesti "lukea". Kytkentäpisteiden merkinnät olivat tyypillinen vikakohde.
On muuten mukavaa kuulla, että olet ruvennut virittämään ulaa "oikeaoppisesti". Sweeppiviritys paljastaa välillä vikoja, joita ei pistevirityksessä huomaa.
terv.
Åke
**
IP kirjattu
RJL
God Member
Poissa
SRHS 612
Viestejä: 2768
Re: ULA:n virittäminen
Vastaus #38 -
26.11.2014 klo 13:37:16
Tulosta viesti
Ei tosiaan tullut moinen asia edes mieleenkään varsinkin kun on vielä sen verran epävarma taidoistaan että aina ensin miettii missä itse on mennyt metsään. No nyt kumminkin radio soi hienosti.
Sweeppiviritys oli tässäkin tarpeen erityisesti välijaksopiirien osalla, ne oli viritetty kovasti epäsymmetrisiksi ja tämä toi säröä ääneen. Olen muissakin radioissa havainnut samaa, symmetrisyydellä tuntuu olevan aika lailla merkitystä. Tässä radiossa oli poikkevaa se että välijaksokäyrästä tuli väkisinkin lievästi kaksihuippuinen, sen verran tiukka on kelojen kytkentä toisiinsa. Mutta pääasia että kone soi hienosti, se saa paikkansa keittiöradiona.
Reijo Liljedahl - SRHS 612 - OH3AVA - SDXL 8092
IP kirjattu
Sivu:
1
2
[3]
Lähetä aihe
Tulosta
‹
Edellinen aihe
|
Seuraava aihe
›
Foorumihyppy »
Koti
» 10 viimeisintä viestiä
» 10 viimeisintä aihetta
Suomen Radiohistoriallinen Seura ry - Keskustelufoorumi
Suomen Radiohistoriallinen Seura ry
Jäsenalue
Yleistä radiohistoriasta
Kotimaiset radiot, televisiot ja äänentoistolaitteet
Ulkomaiset radiot, televisiot ja äänentoistolaitteet
Muut radio- ja elektroniikkalaitteet
Entisöinti ja kunnostus yleisellä tasolla ««
Omatekoiset laitteet ja rakentelu
Sotilasradiot ja Perinneradiot
Yleinen keskustelualue
Niitä Näitä
Haku päällä
« Koti
‹ Alue
SRHS Forum
» Powered by
YaBB 2.6.12
!
YaBB Forum Software
© 2000-2026. Kaikki oikeudet pidätetään.